EasyManua.ls Logo

Danfoss DHP-C - Page 27

Danfoss DHP-C
74 pages
Print Icon
To Next Page IconTo Next Page
To Next Page IconTo Next Page
To Previous Page IconTo Previous Page
To Previous Page IconTo Previous Page
Loading...
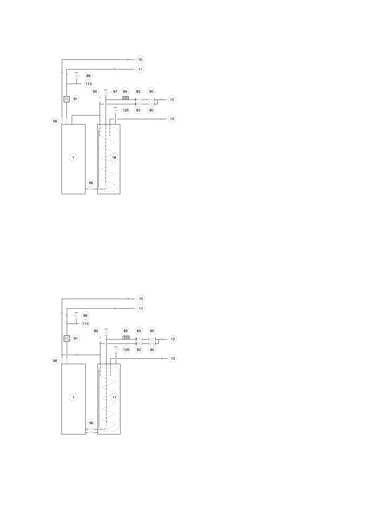
5.2.1.3 Example system solution 1
System solution for DHP-L Opti Pro.
Figure 18. Example system solution 1
Symbol explanation
1 Heat pump
10 Supply line
11 Return line
12 Cold water
13 Hot-water
18 Water heater
80 Shut-off valve
83 Non-return valve
85 Venting valve
86 Safety valve expansion heating system
87 Safety valve cold water 9 bar
89 Vacuum valve
91 Strainer
96 Flexible hose
113 Expansion heating system
126 Safety valve for temperature and pressure
(only applies to certain models)
5.2.1.4 Example system solution 1
System solution for DHP-AL, DHP-AL Opti.
Figure 19. Example system solution 1
Symbol explanation
1 Heat pump
10 Supply line
11 Return line
12 Cold water
13 Hot-water
17 Water heater (DHP-AL)
80 Shut-off valve
83 Non-return valve
85 Venting valve
86 Safety valve expansion heating system
87 Safety valve cold water 9 bar
89 Vacuum valve
91 Strainer
96 Flexible hose
113 Expansion heating system
126 Safety valve for temperature and pressure
(only applies to certain models)
Installation instructions VMBMA1002 – 25

Table of Contents

Other manuals for Danfoss DHP-C

Related product manuals