EasyManua.ls Logo

Dannmar D-10/ACX - Wire Rope Inspection and Maintenance

Default Icon
52 pages
Print Icon
To Next Page IconTo Next Page
To Next Page IconTo Next Page
To Previous Page IconTo Previous Page
To Previous Page IconTo Previous Page
Loading...
VISIT US ON THE WEB AT WWW.DANNMAR.COM 38
WIRE ROPE INSPECTION AND MAINTENANCE
◊ Lifting cables should be replaced every three - five years or when visible signs of damage are appar-
ent.
DO NOT USE LIFT WITH DEFECTIVE / WORN CABLES.
◊ Lifting cables should be maintained in a well lubricated condition at all times. Wire rope is only fully
protected when each wire strand is lubricated both internal and external. Excessive wear will shorten
the life of the wire rope. The factory suggested wire rope lubricant that penetrates to the core of the
rope and provides long term lubrication between each individual strand is 90-WT gear oil or ALMA-
SOL® Wire Rope Lubricant. In order to make sure that the inner layers of the rope remain well lubri-
cated, lubrication should be carried out at intervals not exceeding three months during operation.
◊ All sheaves and guide rollers in contact with the moving rope should be given regular visual checks for
surface wear and lubricated to make sure that they run freely. This operation should be carried out at
appropriate intervals generally not exceeding three months during operation. For all sheave axles, the
factory recommends standard wheel bearing grease. For all sheaves and / or guide rollers, the factory
recommends 90-WT gear oil or similar heavy lubricant applied by any method including pump / spray
dispensing, brush, hand and / or swabbing.
HOW OFTEN TO INSPECT
◊ Lifting cables should be visually inspected at least once each day when in use, as suggested by
American Petroleum Institute (API) RP54 guidelines.
◊ Any lifting cables that have met the criteria for removal must be immediately replaced.
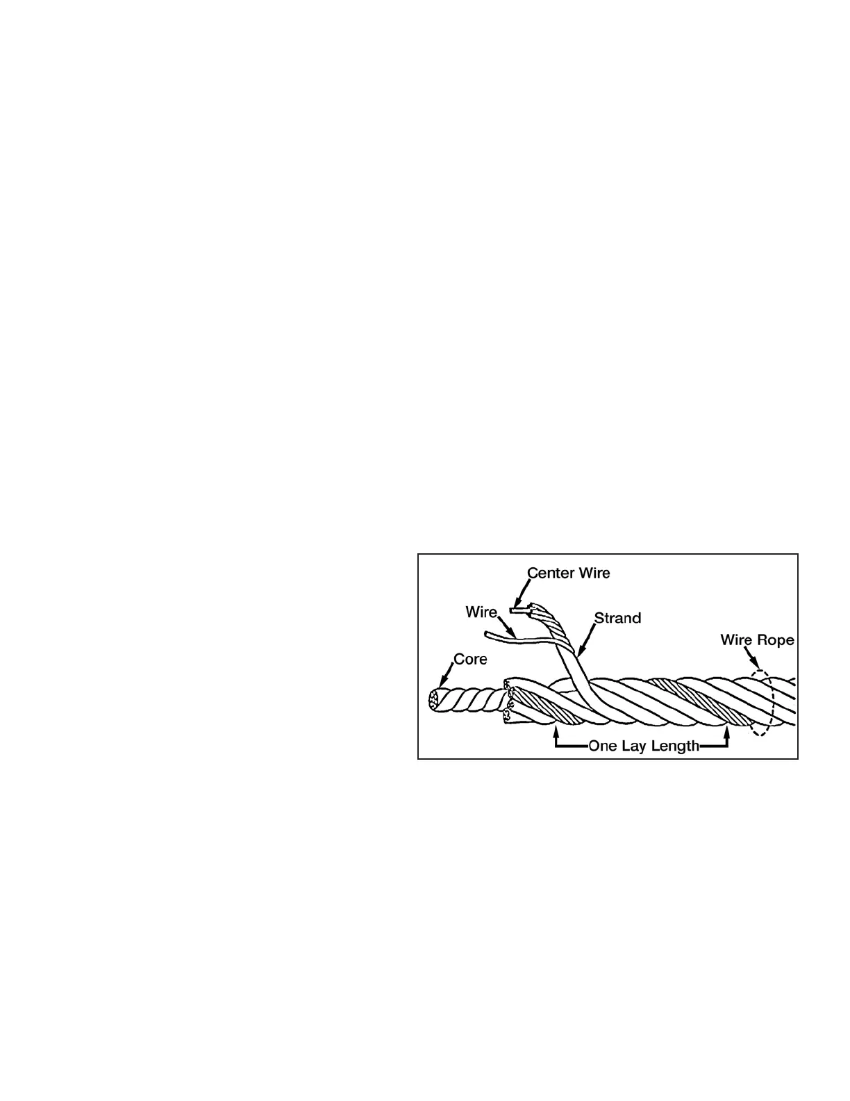
WHEN TO REPLACE LIFTING CABLES DUE TO BROKEN WIRES
◊ Lifting cables should be removed from service
when you see six randomly distributed broken
wires within any one lay length, or three broken
wires in one strand within one lay length.
OTHER REASONS TO REPLACE LIFTING CABLES
◊ Corrosion that pits the wires and / or connec-
tors.
◊ Evidence of kinking, crushing, cutting, bird cag-
ing or a popped core.
◊ Wear that exceeds 10% of a wire’s original diameter.
◊ Evidence of heat damage.
HOW TO FIND BROKEN WIRES
◊ The first step is to relax your rope to a stationary position and move the pickup points off the sheaves.
Clean the surface of the rope with a cloth or a wire brush if necessary so you can see any breaks.
◊ Flex the rope to expose any broken wires hidden in the valleys between the strands.
◊ Visually check for any broken wires. One way to check for crown breaks is to run a cloth along the
rope to check for possible snags.
◊ With an awl, probe between wires and strands and lift any wires that appear loose. Evidence of internal
broken wires may require a more extensive rope examination.

Related product manuals