EasyManua.ls Logo

Delta AS320P-B

Delta AS320P-B
662 pages
To Next Page IconTo Next Page
To Next Page IconTo Next Page
To Previous Page IconTo Previous Page
To Previous Page IconTo Previous Page
Loading...
Sourcing
S/S
X0.0
I/O
Rb
IL
24VDC
Internal
circuit
Two-wire proximity switch
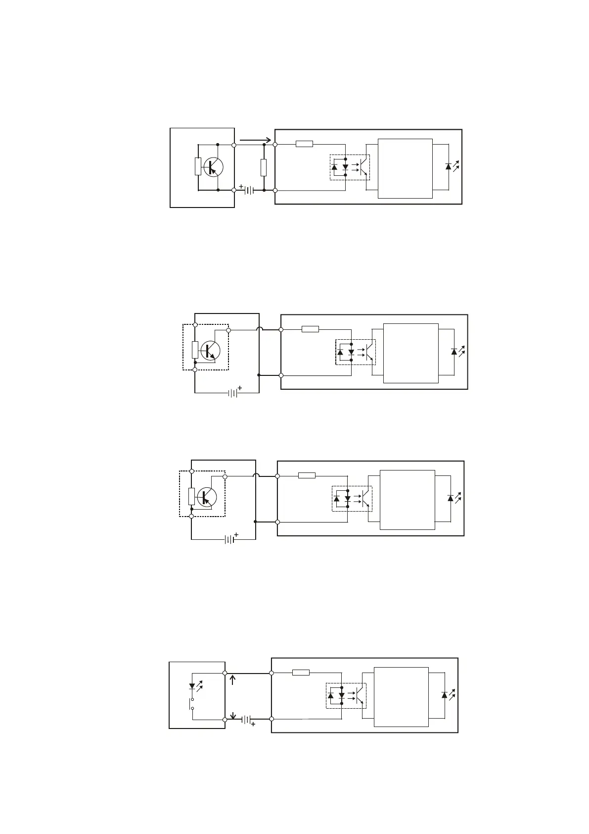
4.8.1.5 Three-wire Switch
Sinking
Three-wire switch
S/S
X0.0
I/O
24VDC
Internal
circuit
Sourcing
S/S
X0.0
I/O
24VDC
Internal
circuit
Three-wire switch
4.8.1.6 Optoelectronic Switch
Sinking
Above
15 V DC
Optoelectronic switch
Internal
circuit
S/S
X0.0
I/O
24VDC
Send Quote Requests to info@automatedpt.com
Call +1(800)985-6929 To Order or Order Online At Deltaacdrives.com
Send Quote Requests to info@automatedpt.com
Call +1(800)985-6929 To Order or Order Online At Deltaacdrives.com

Table of Contents

Related product manuals