EasyManua.ls Logo

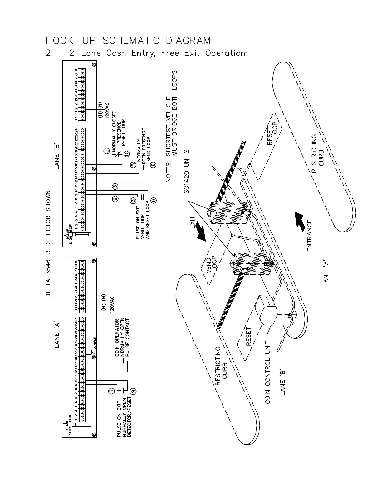
Delta SG1420 - Lane, Cash Entry, Free Exit

Delta SG1420
18 pages
Print Icon
To Next Page IconTo Next Page
To Next Page IconTo Next Page
To Previous Page IconTo Previous Page
To Previous Page IconTo Previous Page
Loading...
Copyright 2001 Delta Scientific Corporation Page 12 of 18
All Rights Reserved Document: A2026.3 SG1420 Instructions