EasyManua.ls Logo

Delta VFD007EL43W - Overheat Faults (oH1)

Delta VFD007EL43W
197 pages
Print Icon
To Next Page IconTo Next Page
To Next Page IconTo Next Page
To Previous Page IconTo Previous Page
To Previous Page IconTo Previous Page
Loading...
Chapter 5 Troubleshooting
VFD-EL-W
5-5
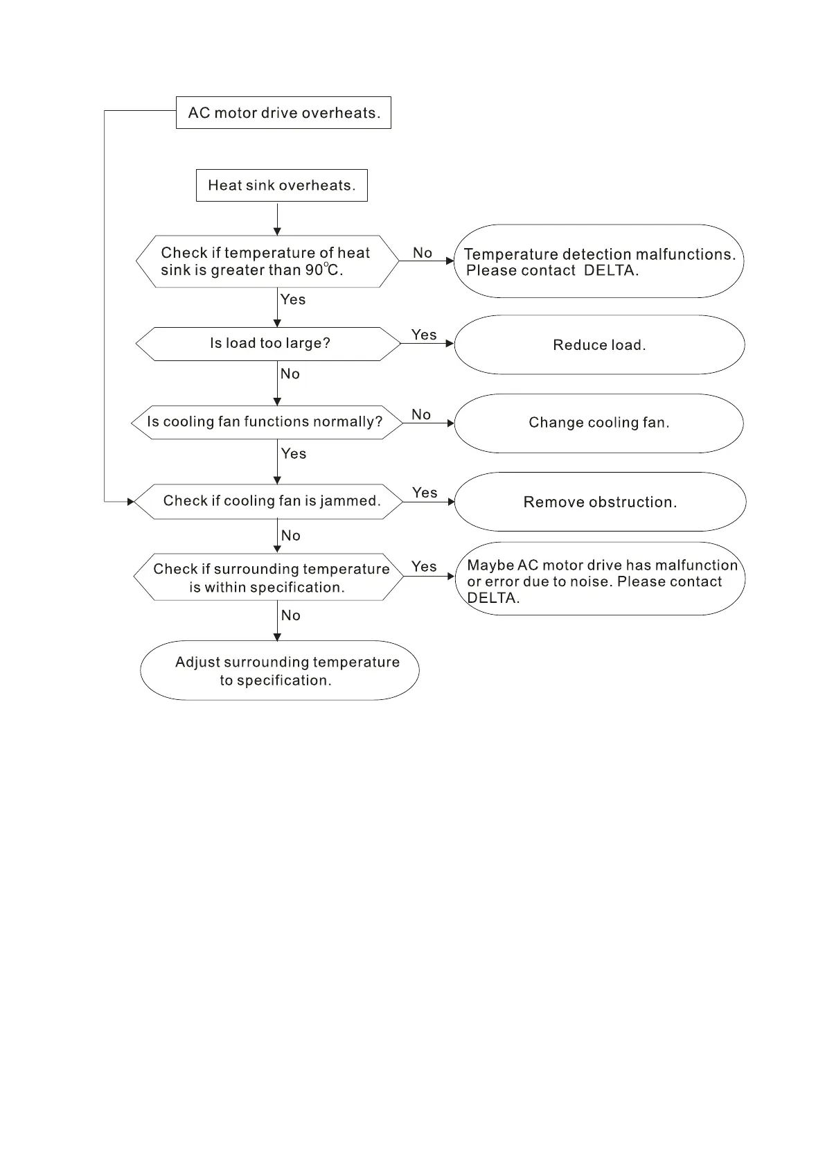
5.4 Overheat (oH1)

Table of Contents

Related product manuals