EasyManua.ls Logo

Delta VFD015EL21W-1 - Overheat (oH1)

Delta VFD015EL21W-1
197 pages
Print Icon
To Next Page IconTo Next Page
To Next Page IconTo Next Page
To Previous Page IconTo Previous Page
To Previous Page IconTo Previous Page
Loading...
Chapter 5 Troubleshooting
VFD-EL-W
5-5
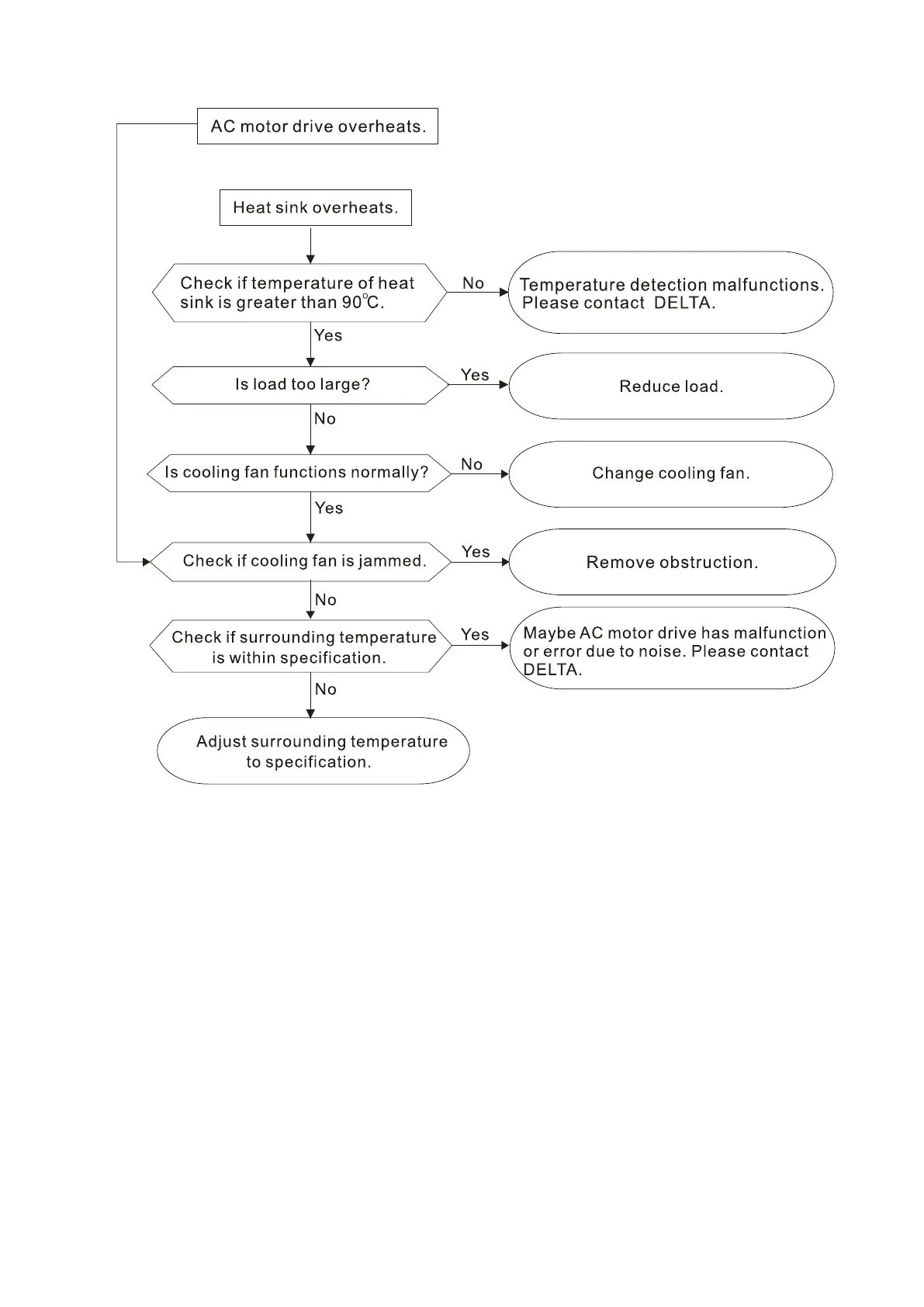
5.4 Overheat (oH1)

Table of Contents

Related product manuals