EasyManua.ls Logo

Delta VFD17AMS23ANSAA - 5-2 Main Circuit Terminal Specifications

Delta VFD17AMS23ANSAA
805 pages
Print Icon
To Next Page IconTo Next Page
To Next Page IconTo Next Page
To Previous Page IconTo Previous Page
To Previous Page IconTo Previous Page
Loading...
Chapter 5 Main Circuit TerminalsMS300
31
5-2 Main Circuit Terminal Specifications
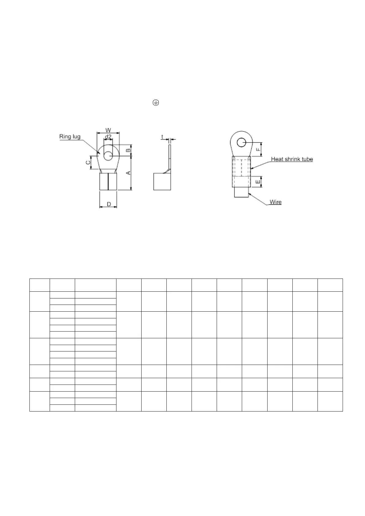
Use the specified ring lug for main circuit terminal wiring. See Figure 5-6 and Figure 5-7 for ring lug
specifications. For other types of wiring, use the wires that comply with the local regulations.
After crimping the wire to the ring lug (must be UL and CSA approved R/C (YDPU2/8)), install heat
shrink tubing rated at a minimum of 600 V
AC
insulation over the live part. Refer to Figure 5-7.
Main circuit terminals:
R/L1, S/L2, T/L3, U/T1, V/T2, W/T3, , DC-, DC+/+1, +2/B1, B2
NOTE: There is no T/L3 terminal for one-phase models.
Figure 5-6
Figure 5-7
Dimensions of Ring Lug
The part # of the ring lugs (produced by K.S. Terminals Inc.) in the table below are for reference only.
You can buy other ring lugs of your choice to match with different frame sizes.
Unit: mm
Frame
*AWG
Kit P/N
A
(MAX)
B
(MAX)
C
(MIN)
D
(MAX)
d2
(MIN)
E
(MIN)
F
(MIN)
W
(MAX)
t
(MAX)
A
18
RNBS 1-3.7
9.8
3.2
4.8
4.1
3.7
13.0
4.2
6.6
0.8
16
RNBS 2-3.7
14
RNBS 2-3.7
B
18
RNBS1-4
12.1
3.6
6.1
5.6
4.3
13.0
4.5
7.2
1
16
RNBS1-4
14
RNBS2-4
12
RNBS5-4
C
14
RNBS2-4
17.8
5.0
6.1
7.2
4.3
13.0
5.5
10.5
1.2
12
RNBS5-4
10
RNBS5-4
8
RNBS8-4
D
10
RNBS5-4
17.8
5.0
6.1
7.2
4.3
13.0
5.5
10.5
1.2
8
RNBS8-4
E
6
RNB14-5
27.1
6.1
10.5
11.5
5.3
13.0
6.5
12.6
1.7
4
RNBS22-5
F
6
RNBS14-6
35.0
9.0
13.3
14.0
6.2
13.0
10.0
19.5
1.8
4
RNBS22-6
2
RNBS38-6
*AWG: Refer to the following tables for the wire size specification for models in each frame.
Table 5-2

Table of Contents

Other manuals for Delta VFD17AMS23ANSAA

Related product manuals