EasyManua.ls Logo

Delta VFD220C43A-21 - Page 463

Delta VFD220C43A-21
1259 pages
Print Icon
To Next Page IconTo Next Page
To Next Page IconTo Next Page
To Previous Page IconTo Previous Page
To Previous Page IconTo Previous Page
Loading...
Chapter 12 Descriptions of Parameter SettingsC2000 Plus
12.1-01-14
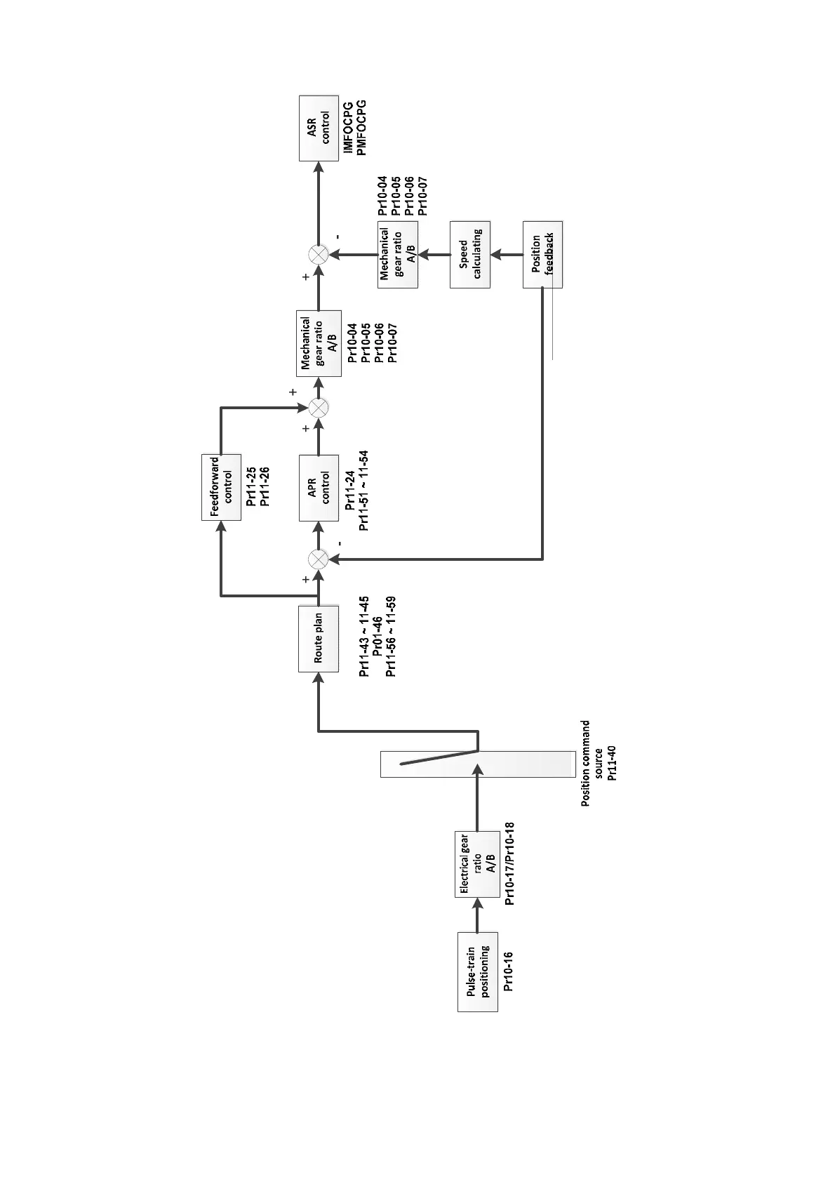
Pulse-train positioning control diagram:
Pulse-train positioning position control:
The pulse-train positioning position control uses the pulse-train command as the position
command for position control.
The pulse-train command can be either an open-collector signal or a differential signal.

Table of Contents

Related product manuals