EasyManua.ls Logo

Denon DCD-1420 - Adjustment Presets and Locations; Component Location for Adjustment; Potentiometer Preset Adjustment

Denon DCD-1420
39 pages
Print Icon
To Next Page IconTo Next Page
To Next Page IconTo Next Page
To Previous Page IconTo Previous Page
To Previous Page IconTo Previous Page
Loading...
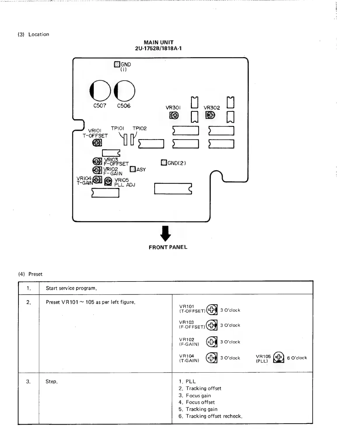
(3)
Location
MAIN
UNIT
2U-1752B/1818A-1
C507
C506
vrior
TRIO!
=
TPI02
T-OF
FSET
Vis
VRIO3
i
eugare
EJcno(2)
EN
VRIO2
8
ROE
cad
VRIO4
(3
oat
@
YRGo,
¥
FRONT
PANEL
(4)
Preset
Start
service
program.
Preset
VR101
~
105
as
per
left
figure.
VR101
(roreser)
3
O'clock
VR103
(F-OFFSET)
eagles
VR102
Y
;
(F-GAIN)
3
O'clock
ean
@)
3
O'clock
ae
@)
6
O'clock
.
PLL
.
Tracking
offset
.
Focus
gain
.
Focus
offset
.
Tracking
gain
.
Tracking
offset
recheck,

Related product manuals