EasyManua.ls Logo

Denon DRM-600 - MECHANISM AND ELECTRICAL ADJUSTMENTS

Denon DRM-600
36 pages
Print Icon
To Next Page IconTo Next Page
To Next Page IconTo Next Page
To Previous Page IconTo Previous Page
To Previous Page IconTo Previous Page
Loading...
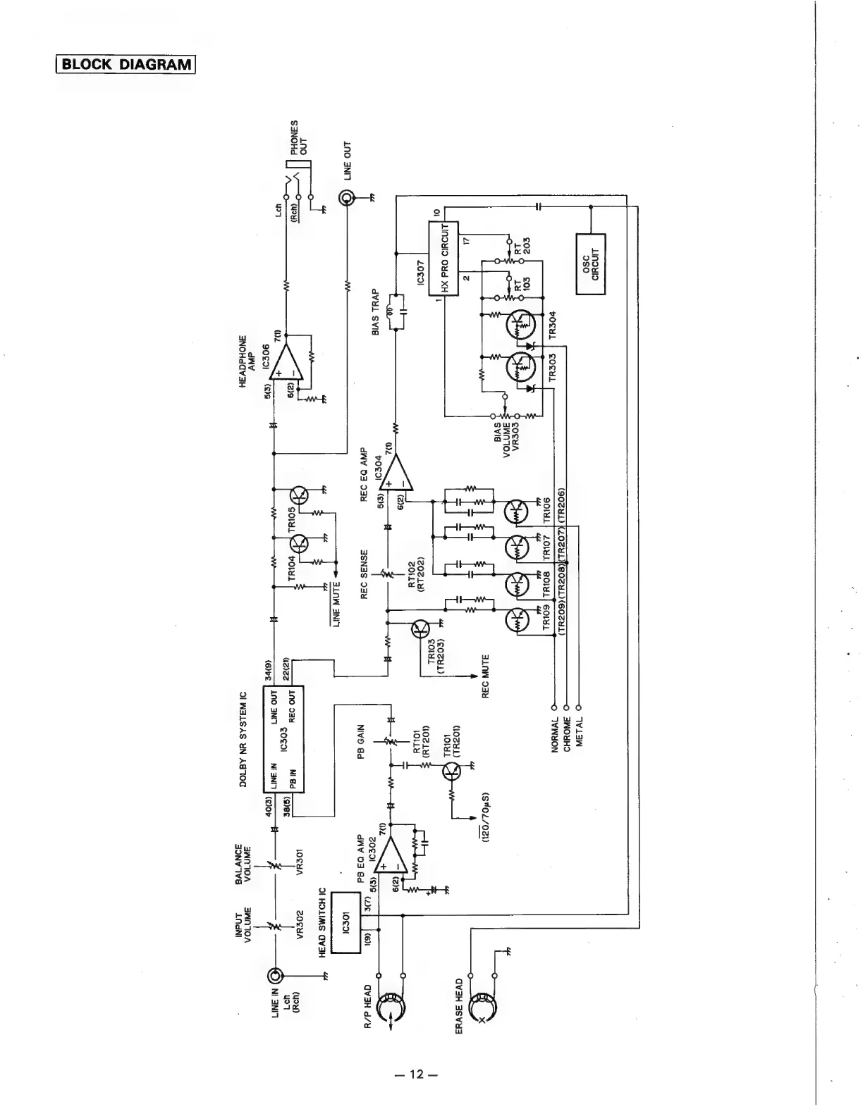
BLOCK
DIAGRAM
LINDUID
2S0
©
IW1L3N
BNOMHO
I60zuL)
ein
(90zuL)
KZozuLeocu
5
UDA
SOINL|
Zot!
solu]
Gout
om
om
AL
CFT
XT
WO
O
a
SLAW
934
(s#0Z/021)
KX
QO
~~
(OZYL)
aQV3SH
3Ssvuy3s
lol
(c0guL)
COL
He
(zoz.u)
&>
Needy)
ZOLLY
Hy
O
(219
;
(2)9
‘=
We
:
:
A
z
ee
dVuL
Svia
vocal
~
(es
nC
os}
os
dWv
03
O3u
3SNIS
O3Y
oe
we
Aa
(en
QW3H
d/u
NIVS
@d
dW
03
ad
3.LAW
SNM
Ot
HOLIMS
OV3H
Lno
Th
TD
S3NOHd
|
|
VO
>
Wu)
ee
my
ey
poll
Ino
934
NI
@d
eee
ee
(ude)
iS
Pd
(ez
e0¢3i
(s)ee
yo7
DZ
4
—_—_—-
7
BES
ws
H
(eve
Lno
SNtI0
NI
ANN
(op
NI
SNI
dv
3NNT0A
3WNIOA
3NOHddv3H
Ol
WALSAS
UN
ATO
va
‘inant
—12—

Related product manuals