EasyManua.ls Logo

Denon S-102 - Product Dimensions; ADV-S102 Dimensions

Denon S-102
125 pages
Print Icon
To Next Page IconTo Next Page
To Next Page IconTo Next Page
To Previous Page IconTo Previous Page
To Previous Page IconTo Previous Page
Loading...
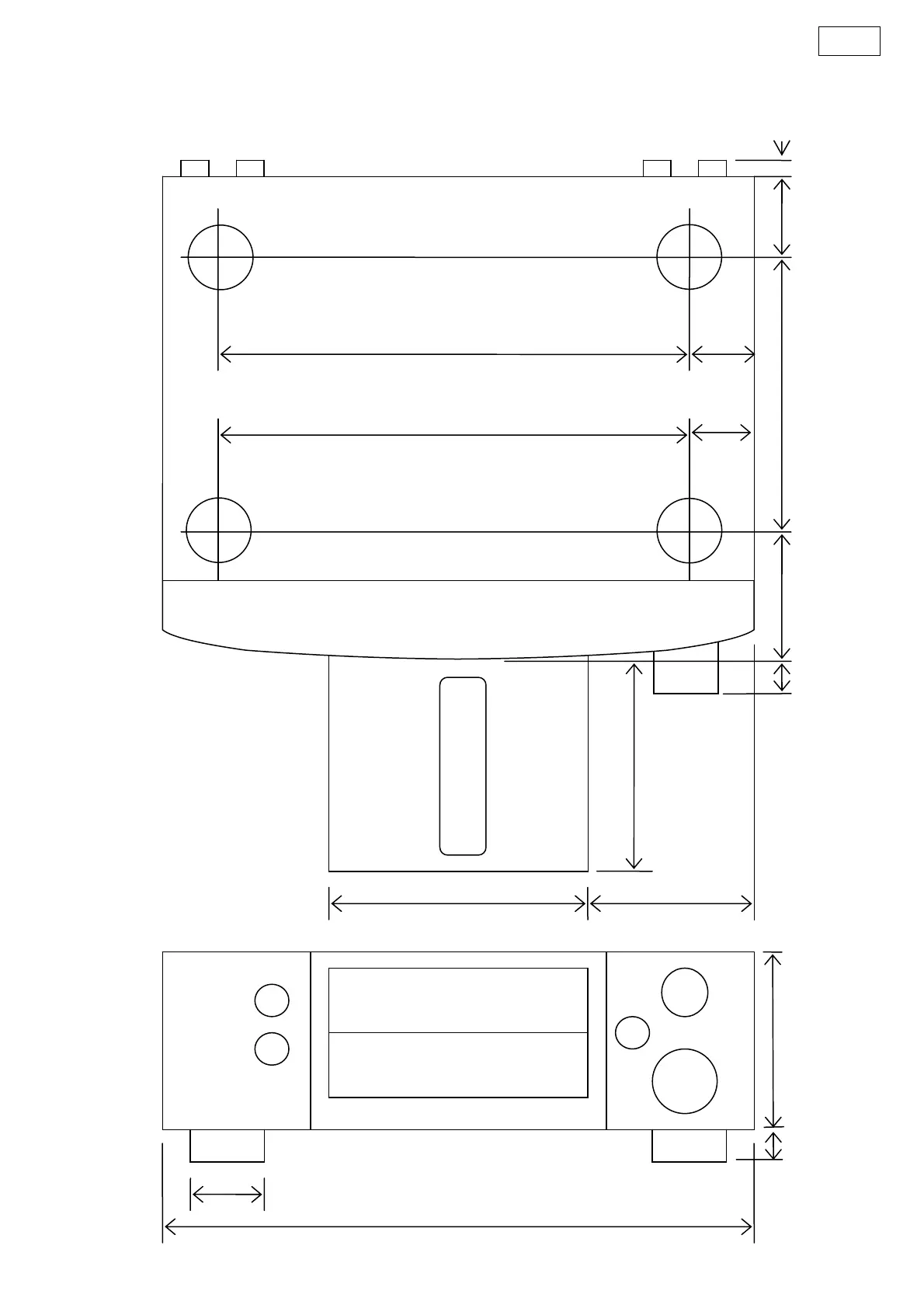
3
S-102
DIMENSION
ADV-S102
0.5 max.
83
149
10
380
135
45
58
1.5 45
122.5
43
294
43
294
152

Other manuals for Denon S-102

Related product manuals