EasyManua.ls Logo

DENTAURUM Compact Megaplus - 9 Spare Parts; 10 Functional Diagram

DENTAURUM Compact Megaplus
16 pages
Print Icon
To Next Page IconTo Next Page
To Next Page IconTo Next Page
To Previous Page IconTo Previous Page
To Previous Page IconTo Previous Page
Loading...
14
9. Spare parts
Ceramic crucible 10 pieces REF 090-611-00
Graphite insert 10 pieces REF 090-615-00
Protective glass 1 piece REF 908-271-00
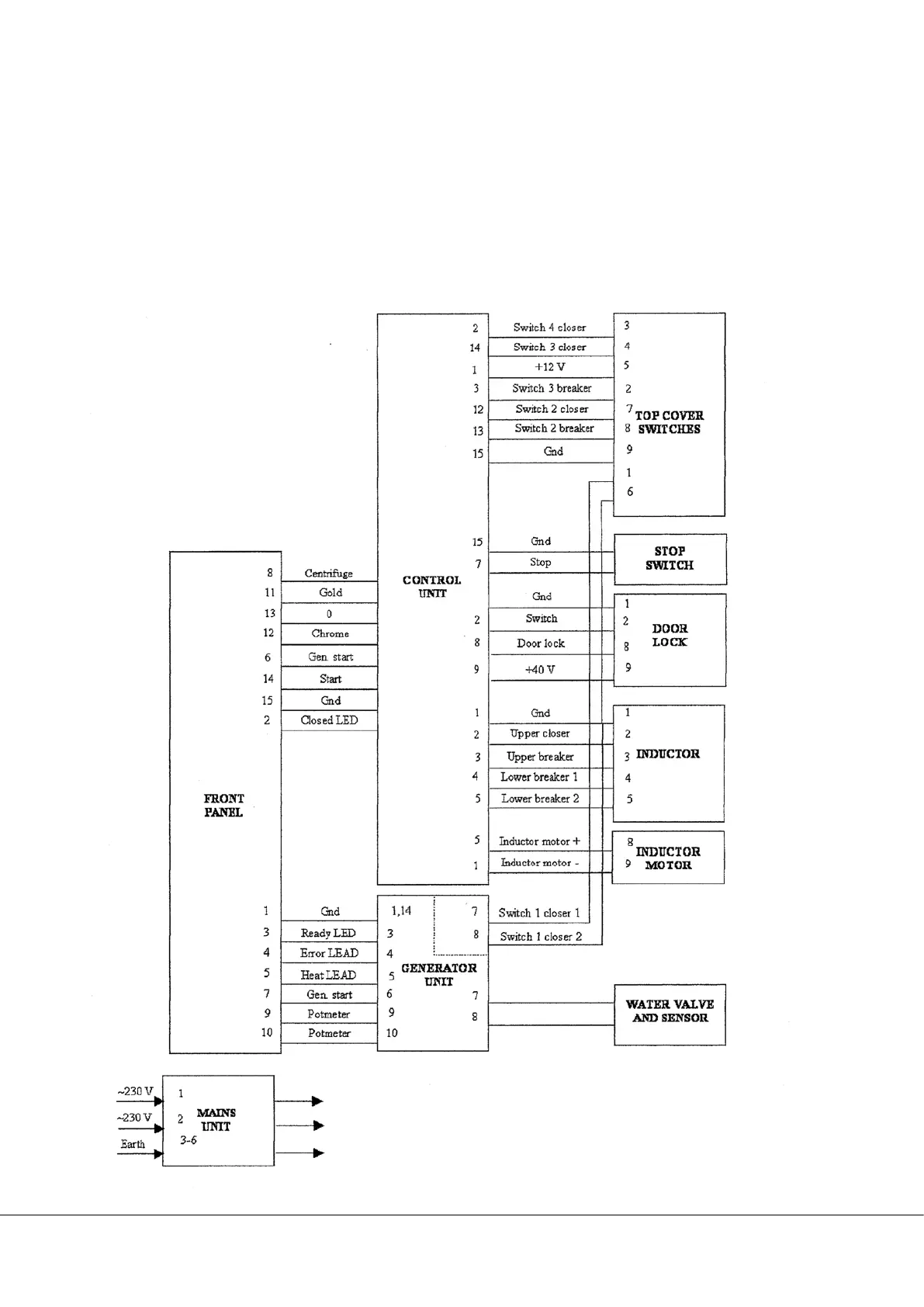
10. Functional diagram