EasyManua.ls Logo

Denver DAB-60 - Location of Controls

Denver DAB-60
9 pages
Print Icon
To Next Page IconTo Next Page
To Next Page IconTo Next Page
To Previous Page IconTo Previous Page
To Previous Page IconTo Previous Page
Loading...
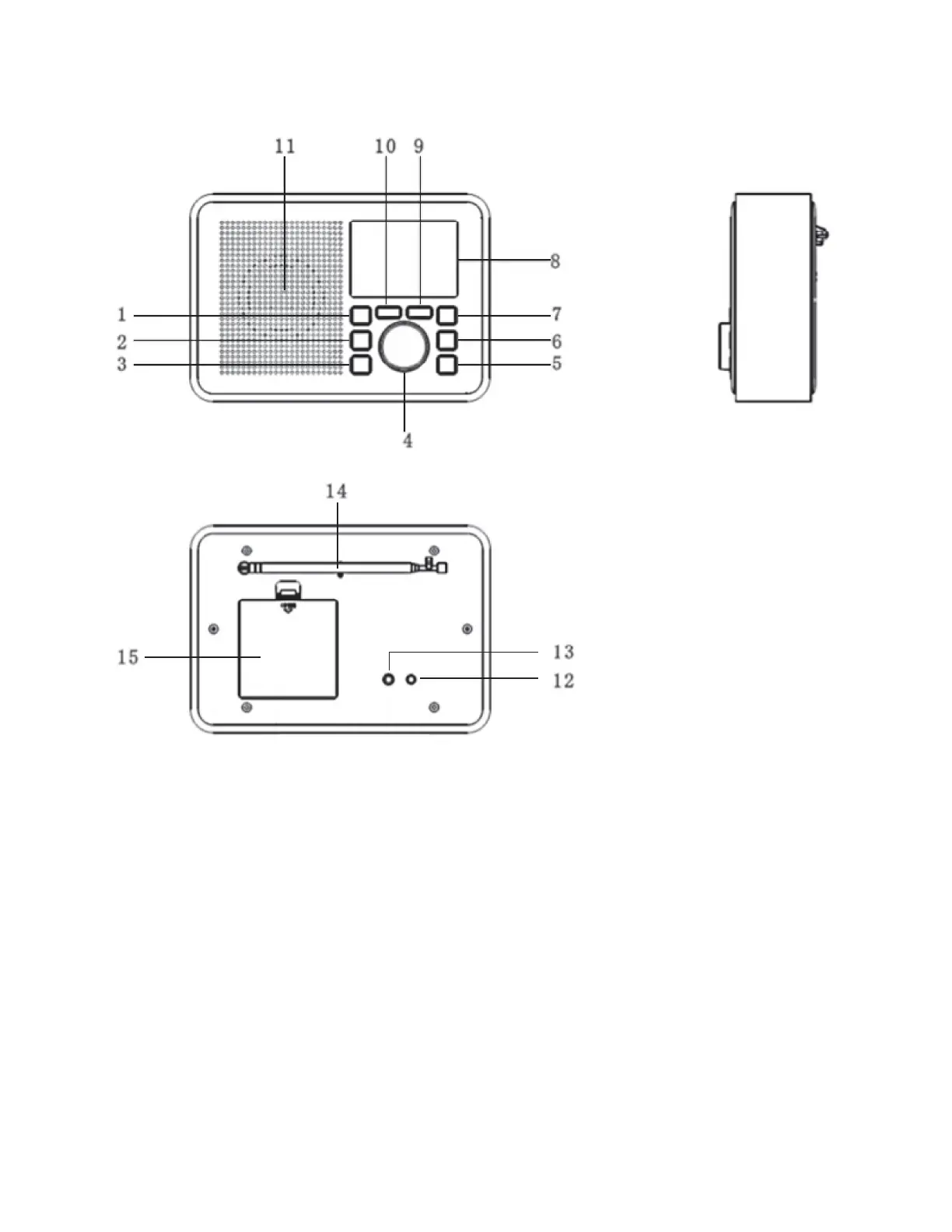
LOCATION OF CONTROLS
1. POWER BUTTON
2. PLAY/SCAN BUTTON
3. SELECT/SNOOZE BUTTON
4. VOLUME KNOB
5. TUNE - BUTTON
6. TUNE + BUTTON
7. MENU/INFO BUTTON
8. LCD DISPLAY
9. MODE BUTTON
10. PRESET BUTTON
11. SPEAKER
12. 5.9V DC JACK
13. HEADPHONE JACK
14. FM TELESCOPIC ANTENNA
15. BATTERY DOOR
ENG 3

Other manuals for Denver DAB-60

Related product manuals