www.desatech.com
113170-01E
16
Power Plug
120V/60Hz
Blue
Blue
White
Photocell
Ignition Control Assembly
11
3471-01
Green
Black
Green
Red
Black
Yellow/Tan
Yellow/Tan
Motor
Ignitor
Photocell
Photocell
Ignitor
Temp.
Temp
.
Motor Return
AC Neutral (L2)
120V (L1)
Ignitor
Motor
White
ON/OFF Switch
with Light
5
4
1
Thermostat
Control
Te
mperature
Sensor
Power Plug
120V/60Hz
Blue
Blue
White
Photocell
Ignition Control Assembly
Green
Black
Black
Green
Red
Black
Yellow
Yellow
Motor
Ignitor
Thermostat
Photocell
Photocell
Ignitor
Motor Return
AC Neutral (L2)
120V (L1)
Ignitor
Motor
White
ON/OFF Switch
with Light
5
4
1
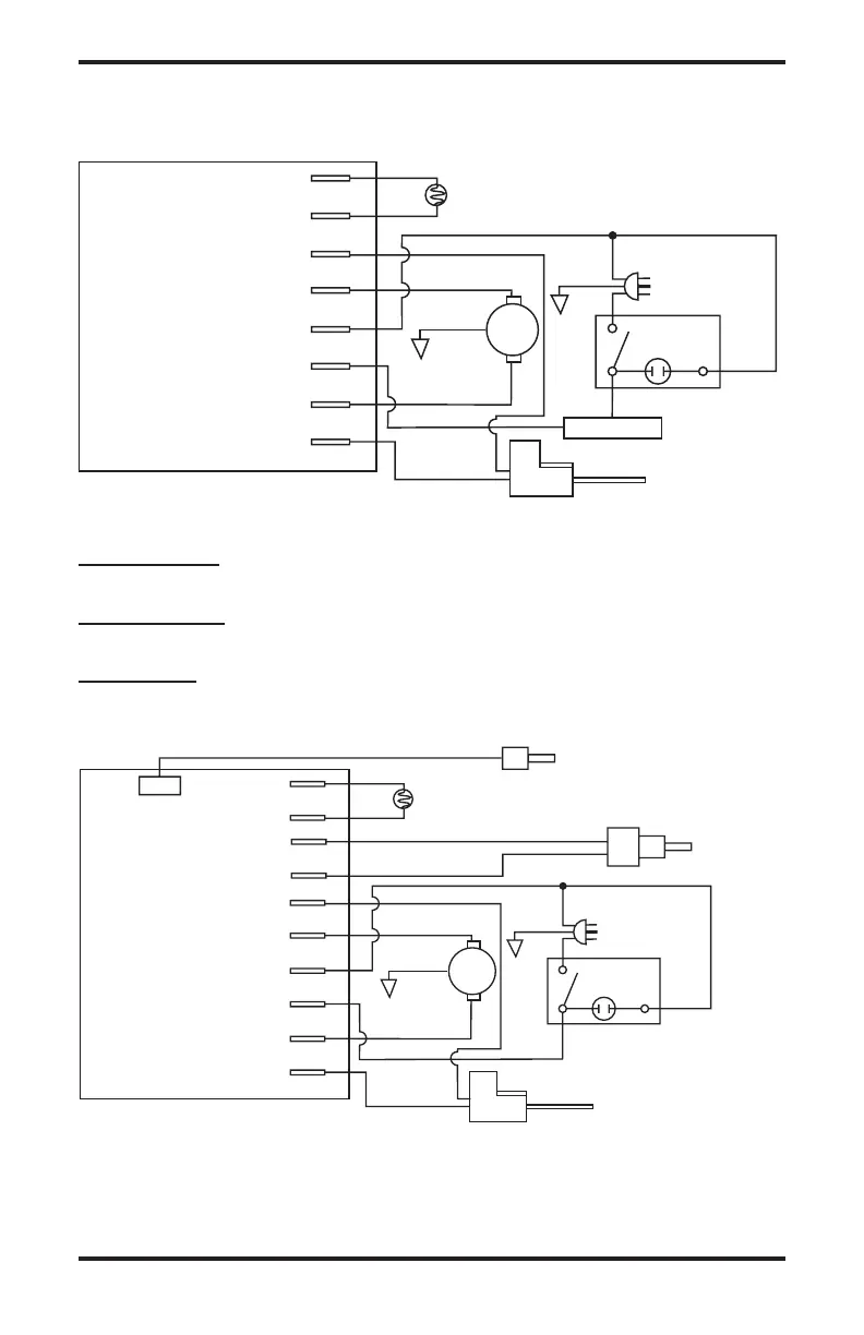
WIRING DIAGRAMS
MODELS RH125AT, M125AT, RH170AT, M170AT AND M200AT ONLY
125T MODELS: RHD125AT, RL125AT, RE125AT, PKHD125T, TKU125T,
UKU125T, RD125T
170T MODELS: RHD170AT, RL170AT, RE170AT, PKHD170T, TKU170T,
UKU170T, RD170T
200T Models: RHD200AT, RE200AT, RH200AT, RL200AT, PKHD200T,
TKU200T, UKU200T, RD200T