EasyManua.ls Logo

Desa and 55 - Product Identification; Theory of Operation

Default Icon
14 pages
Print Icon
To Next Page IconTo Next Page
To Next Page IconTo Next Page
To Previous Page IconTo Previous Page
To Previous Page IconTo Previous Page
Loading...
3
102388
OWNER’S MANUAL
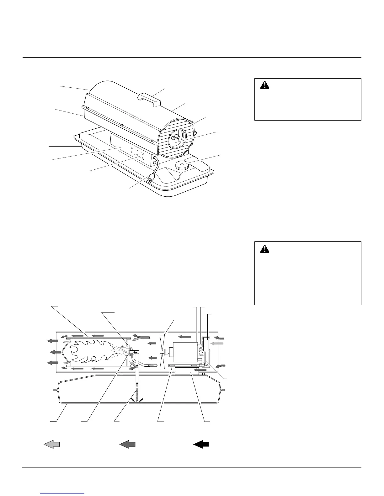
PRODUCT IDENTIFICATION
Figure 2 - Cross Section Operational View
Fuel
Filter
Air Line
To Burner
Air
Output
Filter
Air Pump
Air Intake
Filter
Cool
Air In
Fan
Combustion Chamber
Ignitor
Motor
Clean
Heated
Air Out
Ignition
Control
Assembly
Figure 1 - 55,000 Btu/Hr Model Shown
Handle
Fuel Cap
Lower Shell
Power Cord
Fuel Tank
Hot Air Outlet
Air Filter
End Cover
Fan Guard
Upper Shell
Air For Fuel
System
Air For Combustion
And Heating
Fuel
Side Cover
Ignition Control Assembly
(assembly on inside of side cover)
Nozzle
The Fuel System: The air pump forces air
through the air line. The air is then pushed
through the nozzle. This air causes fuel to
lift from the tank. A fine mist of fuel is
sprayed into the combustion chamber.
The Air System: The motor turns the fan.
The fan pushes air into and around the
combustion chamber. This air is heated and
provides a stream of clean, hot air.
Fuel
Tank
The Ignition System: The ignition con-
trol assembly provides power to the ignitor.
This ignites the fuel/air mixture in the com-
bustion chamber.
The Flame-Out Control System: This
system causes the heater to shut down if the
flame goes out.
THEORY OF OPERATION
WARNING: Use only kerosene
or No. 1 fuel oil to avoid risk of fire
or explosion. Never use gasoline,
naphtha, paint thinners, alcohol,
or other highly flammable fuels.
FUELS
Do not use heavy fuels such as No. 2 fuel oil
or No. 2 Diesel. Using heavy fuels will
result in:
clogged fuel filter and nozzle
the need of nontoxic anti-icer in fuel dur-
ing very cold weather
IMPORTANT:
Use a KEROSENE ONLY
storage container. Be sure storage container is
clean. Foreign matter such as rust, dirt, or
water will cause the ignition control assembly
to shut down the heater. Foreign matter may
also require you to clean fuel system often.
WARNING: Follow the mini-
mum fresh, outside air ventila-
tion requirements. If proper fresh,
outside air ventilation is not pro-
vided, carbon monoxide poison-
ing can occur. Provide proper
fresh, outside air ventilation be-
fore running heater.
VENTILATION
Provide at least a two-square-foot opening
of fresh, outside air for each 55,000 Btu/Hr
rating. Provide extra fresh air if more heat-
ers are being used.
Example:
A 55,000 Btu/Hr heater requires
one of the following:
a two-car garage door (16-feet-wide
opening) raised 1
1
/2 inches
a single-car garage door (9-feet-wide
opening) raised 2
1
/2 inches
two windows (30-inches-wide opening)
raised 4
1
/2 inches

Related product manuals