EasyManua.ls Logo

DeWalt DE7023 - Page 8

DeWalt DE7023
Print Icon
To Next Page IconTo Next Page
To Next Page IconTo Next Page
To Previous Page IconTo Previous Page
To Previous Page IconTo Previous Page
Loading...
6
Dansk
ADVARSEL: For din egen sikkerhed,
læs og forstå betjeningsvejledningen for
geringsavenfør brug. Hvis du undlader
at følge disse advarsler, kan det medføre
personskade og alvorlig beskadigelse af
geringsaven og tilbehøret.
1. Anbring saven i driftsposition med klingen
vendende imod dig. Ret ind efter mærkaten på
monteringsbeslaget, som viser forsiden.
2. Anbring et afstandsstykke under den ene
side af geringsaven for at holde savens
monteringsfødder oven over arbejdsoverfladen.
3. Hold et monteringsbeslag (b) under saven og
før en bræddebolt (hardwarepose) op gennem
beslaget og savens fod.
BEMÆRK: Se DE7025 Skema over valg
af hardware for de korrekte hardware
monteringsprocedurer for D
e
WALT geringsave.
Følg nøje alle instruktioner, ellers kan
geringsavens bordrotation blive vanskeliggjort.
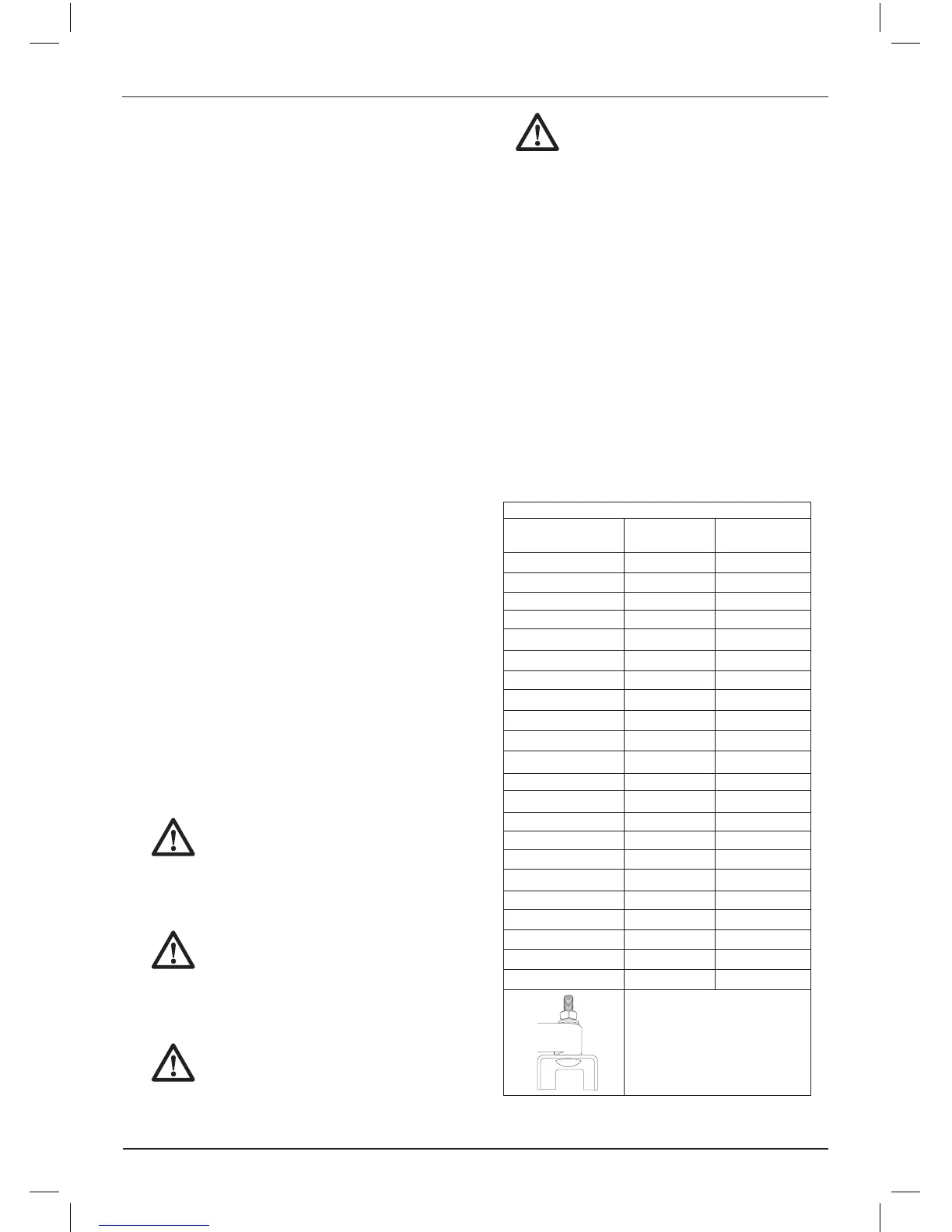
DE7025 SKEMA OVER VALG AF HARDWARE
Venstre
side
Højre
side
DW703 1 1
DW705 1 1
DW706 1 1
DW708 1 2
DW712 1 2
DW713 1 1
DW715 1 1
DW716 1 1
DW717 2 1
DW718 3 2
DW700 4 4
DW701 Type 1 4 4
DW701 Type 2 1 1
DW707 Type 1 4 4
DW707 Type 2 1 1
DW711 Type 1 4 4
DW711 Type 2 1 1
DW770 1 1
DW771 1 1
DW777 1 1
DWS778 1 1
DWS780 1 1
1 = Lang skrue, hoved på
bund
DE7024 Arbejdsstøtte/stop (fig. 3, 4)
Arbejdsstøtten/stoppet (d) har en spændbøjle (l) til
at fastholde stangen og sørge for, at den ikke bliver
slået af stangen af dit materiale. Låsegrebet (m) kan
låses ved at dreje det med uret, og arbejdsstøtten/
stoppet kan flyttes, når låsegrebet drejes mod uret.
Overspænd ikke, et fast tryk på låsegrebet vil holde
stoppet på plads.
Du justerer højden på arbejdsstøtten/stoppet (d) ved
at løsne låsegrebene på begge sider (n) og hæve
eller sænke topoverfladen, så den flugter med et
lige hjørne eller er i niveau med savbordet. Stram
låsegrebene.
BEMÆRK: Hvis justeringen af arbejdsstøttehøjden
glider ned under en belastning, skal
vægtbegrænsningen for arbejdsstøtten udvides.
Denne vægtbegrænsning er begrænset af
højdejusteringslåsegrebenes stramning.
Stram ikke mere end en fingertykkelse.
Arbejdsstøtten/stoppet (d) kan også installeret i
endehætten (e) ved enden af forlængerarmene.
Længdestoppet (o) kan drejes, så det kan bruges
som længdestop, eller det kan holde enderne på
lange arbejdsemner.
Indstillelig længdeforlængerarm
(fig. 5)
Du forlænger støttens overflade ved at dreje
forlængerarmens låsegreb (f) mod uret for at udløse
den udstrækkelige forlængerarm (c). Træk den
udstrækkelige forlængerarm ud til den ønskede
længde. Drej forlængerarmens låsegreb med uret
for at låse.
DE7025 D
e
WALT metode til
montering af geringsav (fig. 6, 7)
ADVARSEL: For at reducere risikoen
for personskader, slå enheden fra,
frakobl maskinen fra strømkilden,
før du samler geringsaven på
geringsavstanderen. Start ved et
uheld kan medføre skader.
ADVARSEL: Stabilitetsrisiko. Du
skal bruge den Universale metode
til montering af geringsaven ved
montering af en geringsav, der ikke
er produceret af D
e
WALT på denne
geringsavstander.
ADVARSEL: For at reducere risikoen for
personskade, sørg for at geringsaven er
forsvarligt fastgjort til standeren.

Other manuals for DeWalt DE7023

Related product manuals