EasyManua.ls Logo

DHP 5458196 - Assembly Steps; Step 1: Assemble Main Frame Components

DHP 5458196
15 pages
Print Icon
To Next Page IconTo Next Page
To Next Page IconTo Next Page
To Previous Page IconTo Previous Page
To Previous Page IconTo Previous Page
Loading...
DETAIL 2
DETAIL 1
7 /15
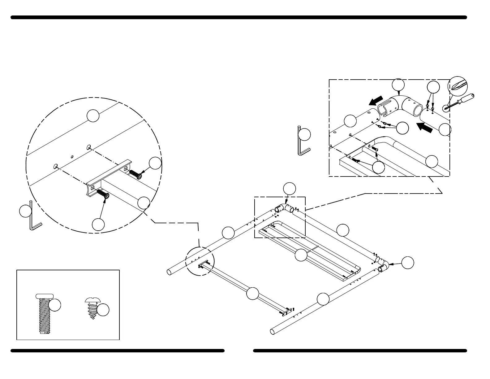
As shown in detail (1), attach the POST LINKS (M) to the POST RAILS (O) with the SCREWS (4), attach the POST RAILS (O)
to the LEG POSTS (A & B) with the SCREWS (4), and attach the END GUARD RAIL (I) to the LEG POSTS (A & B) with the
BOLTS (2). As shown in detail (2), attach the SIDE RAIL (T) to the LEG POSTS (A & B).
Repeat this procedure for assembling the other side, by attaching LEG POSTS (C & D) to POST LINKS (M), END GUARD RAIL
(I) & SIDE RAIL (T).
1
Hardware Required
x16
x 16
4
2
M
O
A
A
A
B
I
M
B34545819600
5
O
5
4
4
4
4
I
2
22
M
2
T
T

Related product manuals