EasyManua.ls Logo

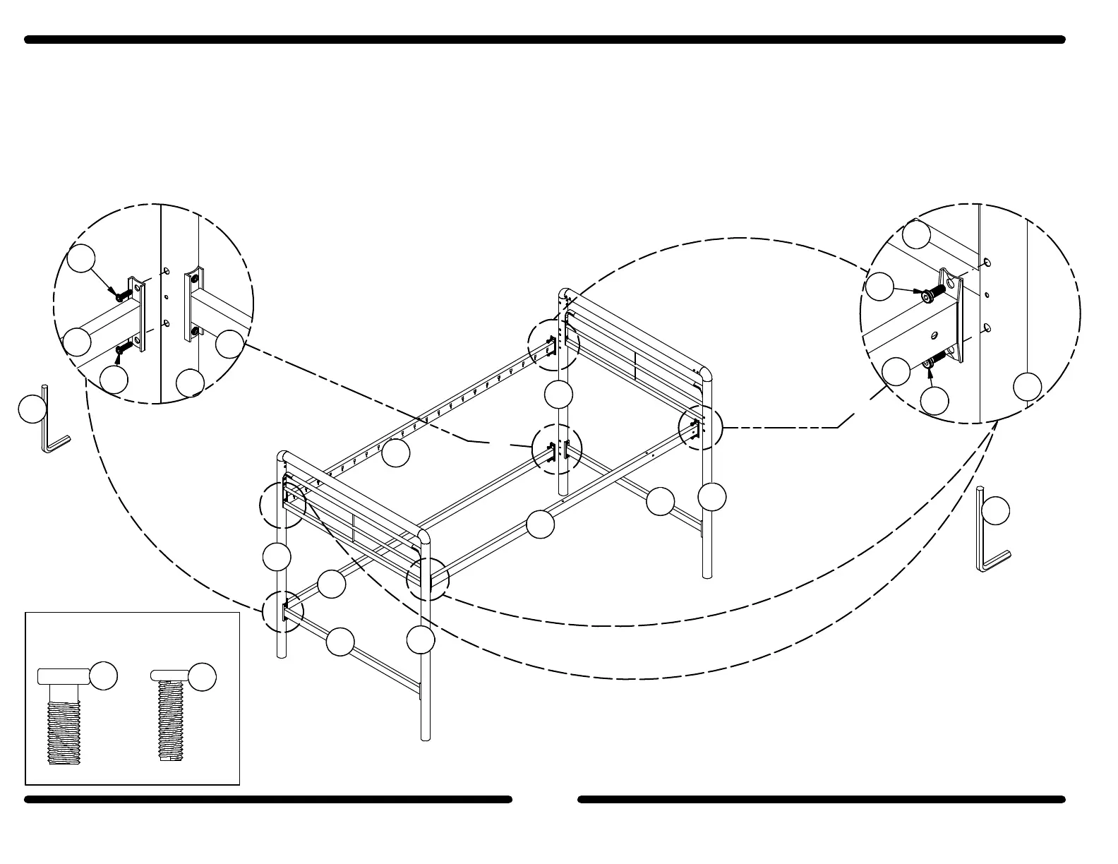
DHP 5458196 - Step 2: Attach Side Rails

DHP 5458196
15 pages
Print Icon
To Next Page IconTo Next Page
To Next Page IconTo Next Page
To Previous Page IconTo Previous Page
To Previous Page IconTo Previous Page
Loading...
DETAIL 1
DETAIL 2
8 /15
2
Attach the SIDE RAILS (G, H & J) to the LEG POSTS (A, B , C & D) with the BOLTS (3 & 2) as shown in details (1 & 2).
Hardware Required
x 8
H
H
A
B
J
G
J
C
C
I
3
B34545819600
3
3
6
2
2
D
5
2
x 4
T
T
T
D

Related product manuals