EasyManua.ls Logo

Directed Audio 6550 - Top Panel Features; Control Panel Cover; Speaker Wiring Diagrams

Directed Audio 6550
16 pages
Print Icon
To Next Page IconTo Next Page
To Next Page IconTo Next Page
To Previous Page IconTo Previous Page
To Previous Page IconTo Previous Page
Loading...
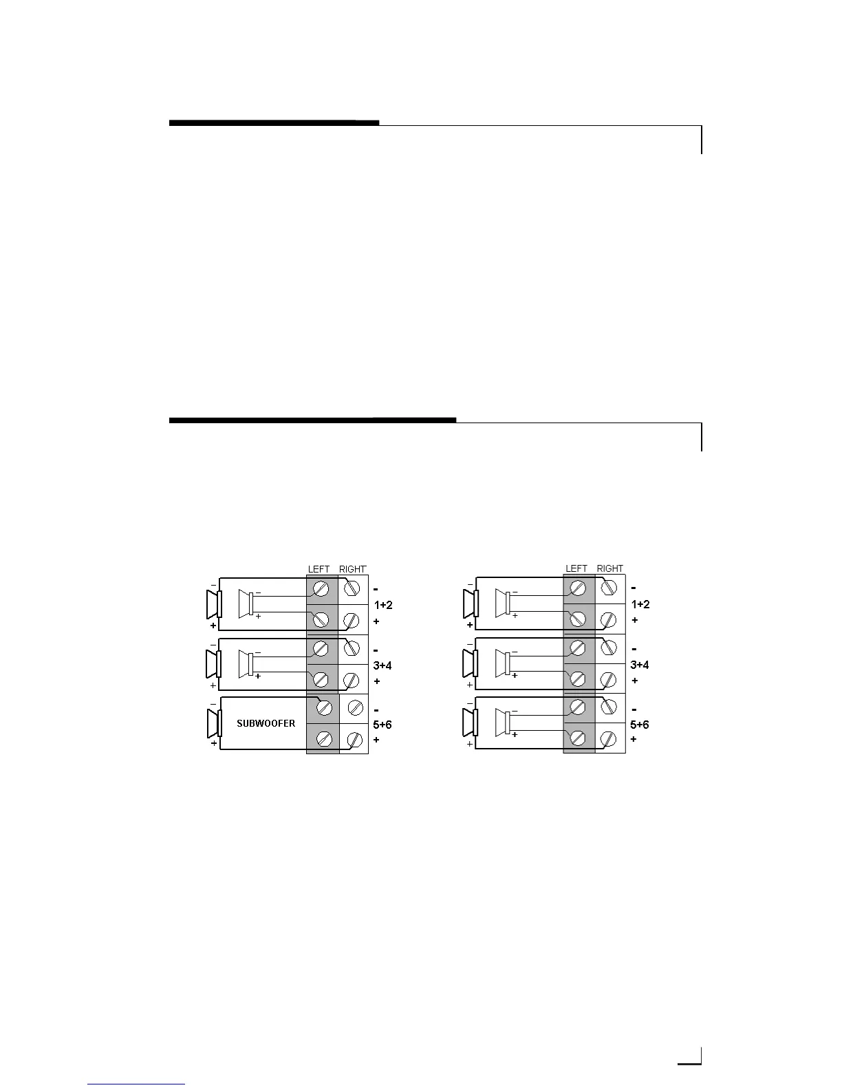
SPEAKER WIRING DIAGRAMS
11
© 2002 Directed Electronics, Inc
Control Panel Cover
The gain and filter controls are located
under a control panel cover on top of
the amplifier. The control panel cover
must be removed to gain access to the
gain and filter controls.
Remove/Install
Four Allen-head screws hold the control
panel cover to the amplifier top panel,
one at each corner. They can be
removed with the wrench supplied in
the hardware pack.
TOP PANEL FEATURES
Stereo operation (top view)
Four Channel Stereo with Mono Sub
Six Channel Stereo

Related product manuals