EasyManua.ls Logo

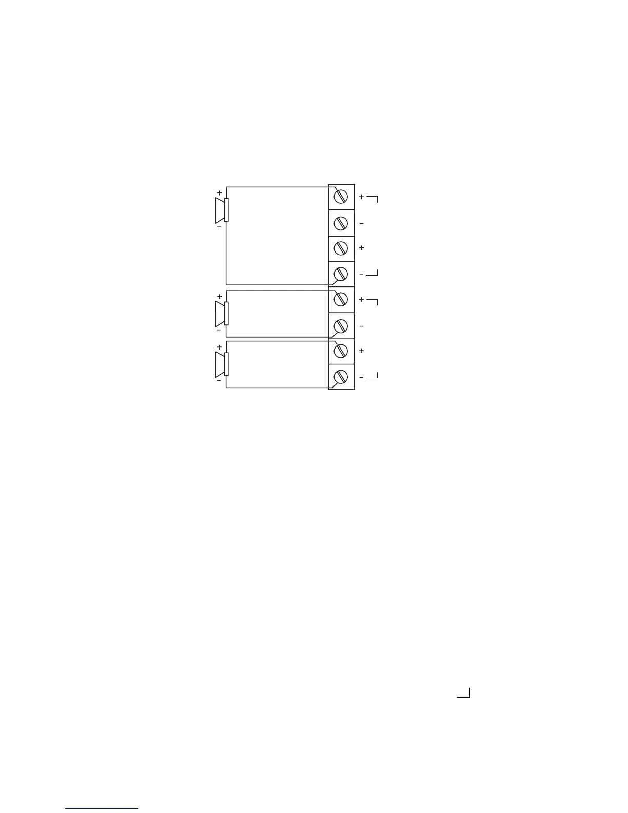
Directed Audio A404 - 2 Channel Stereo with Mono Sub Wiring

Default Icon
18 pages
Print Icon
To Next Page IconTo Next Page
To Next Page IconTo Next Page
To Previous Page IconTo Previous Page
To Previous Page IconTo Previous Page
Loading...
1133
© 2004 Directed Electronics, Inc
B
R
I
D
G
E
D
L CH
R CH
B
R
I
D
G
E
D
L CH
R CH
SUB
REAR
(LEFT)
REAR
(RIGHT)
2 Channel Stereo with Mono Sub (top view)

Related product manuals