EasyManua.ls Logo

Dometic DOTRM15S - Meat Defrosting Chart

Dometic DOTRM15S
45 pages
Print Icon
To Next Page IconTo Next Page
To Next Page IconTo Next Page
To Previous Page IconTo Previous Page
To Previous Page IconTo Previous Page
Loading...
Latch Board
WH
(from H.V.Transformer)
WH(from Monitor S/W)
WH
(
from Oven Thermostat
)
WH
(
from Cooktop lamp
Secondary Interlock Switch
Monitor Interlock Switch
Primary Interlock Switch
GN(from P.C.B)
YL(from P.C.B)
WH
(from Secondary switch)
RD
(from Ry 7)
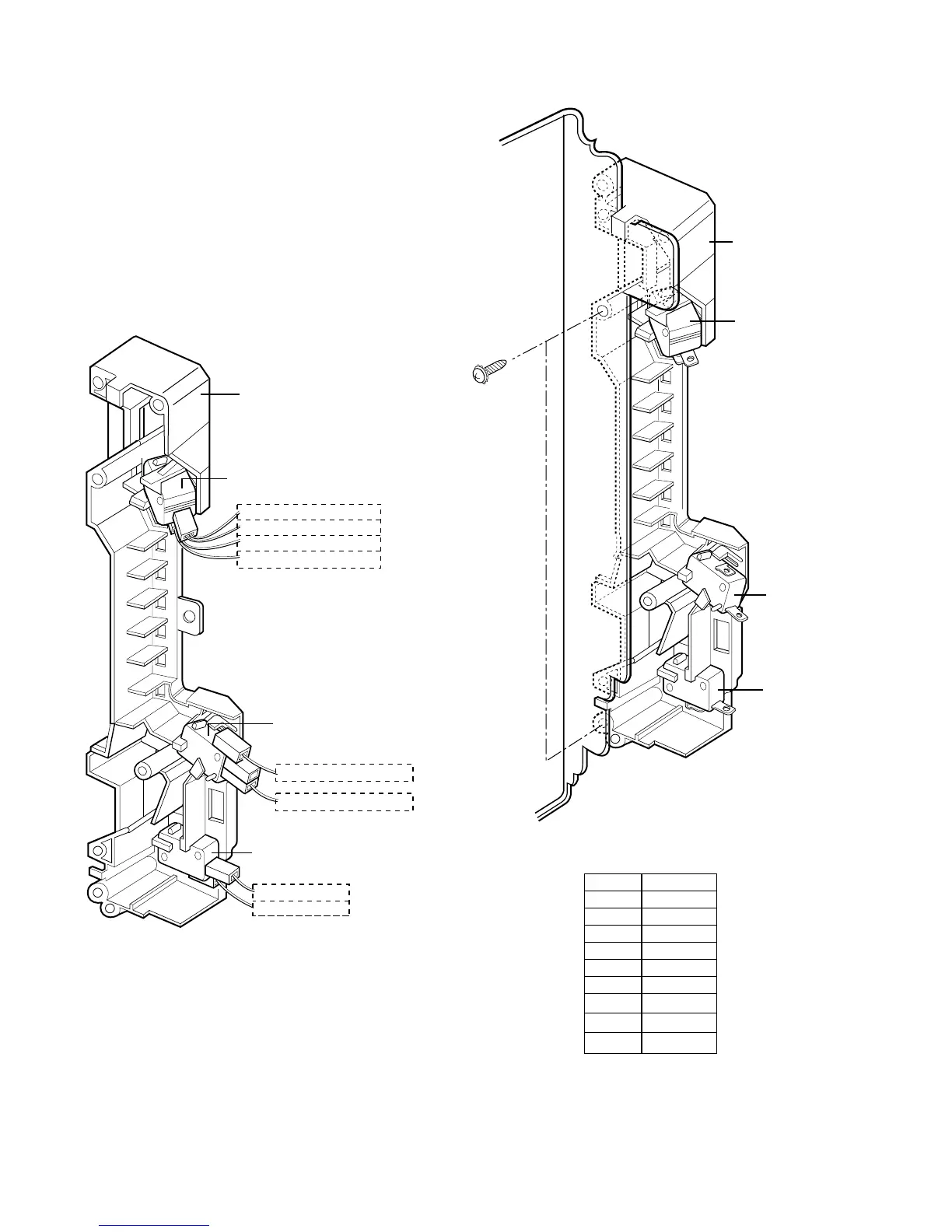
Figure 9
Latch Board
Secondary
Interlock Switch
Interlock
Monitor Switch
Primary
Interlock Switch
Figure 10
WIRE COLOR
SYMBOL COLOR
WH
BK
BR
RD
BL
PK
GY
N.P.
WHITE
BLACK
BROWN
RED
BLUE
PINK
GREY
GN
GREEN
Not Provided
7-7
C REMOVING THE DOOR INTERLOCK
SWITCHES (Figures 9,10)
(1) Disconnect the wire leads from the interlock
switches.
(2) Remove two screws securing the Latch Board.
(3) Make necessary replacements and check
microwave energy leakage according to
“ADJUSTMENT PROCEDURE” on page 7-12.

Other manuals for Dometic DOTRM15S

Related product manuals