EasyManua.ls Logo

Dometic DW2410 - Rangement des Couverts Et de la Vaisselle

Dometic DW2410
68 pages
Print Icon
To Next Page IconTo Next Page
To Next Page IconTo Next Page
To Previous Page IconTo Previous Page
To Previous Page IconTo Previous Page
Loading...
Le liquide de rinçage assure un rinçage
optimal et un séchage sans taches ni
striures.
Le liquide de rinçage est automatique-
ment ajouté au cours du dernier rinçage.
Pour remplir le distributeur de liquide de rin-
çage, procédez comme suit :
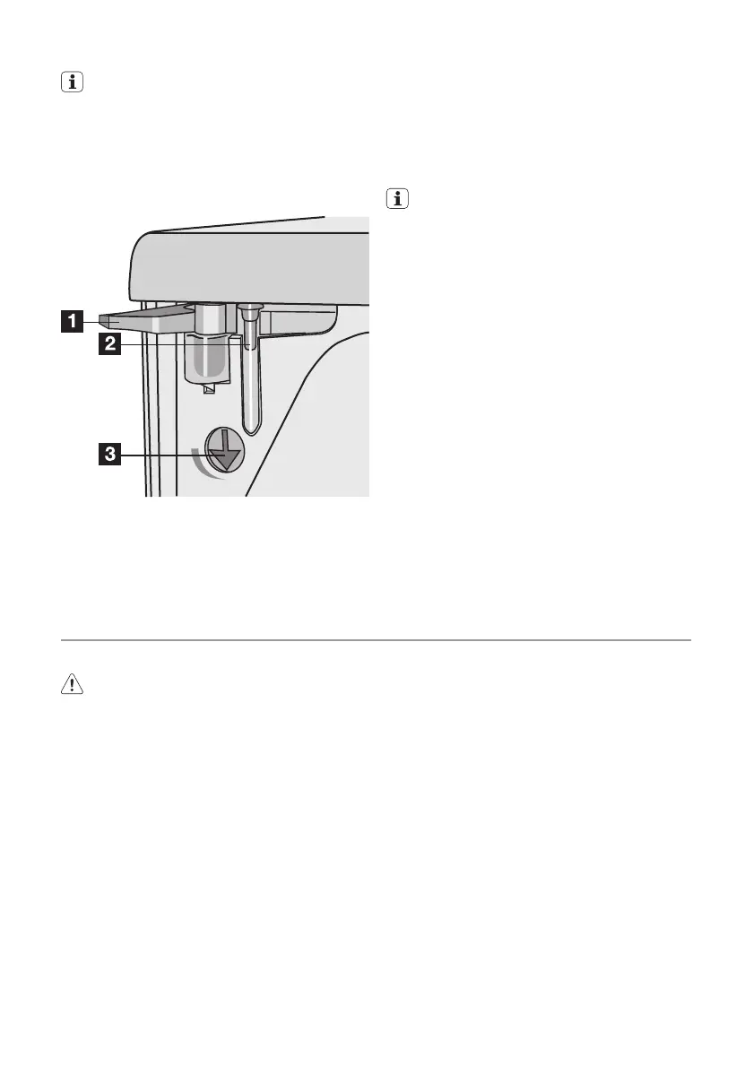
1. Dévissez le bouchon du distributeur de
liquide de rinçage (1).
2. Remplissez le distributeur de liquide de
rinçage. La marque rouge de l'indicateur
de niveau (2) indique le niveau maximum.
3. Essuyez tout débordement de liquide de
rinçage à l'aide de papier absorbant, afin
d'éviter une formation excessive de
mousse lors du lavage suivant.
4. Revissez le bouchon du distributeur de li-
quide de rinçage (1).
La capacité du distributeur est d'environ
140 ml. La quantité de liquide de rinçage
est suffisante pour environ 40-70 pro-
grammes de lavage.
Réglage du dosage du liquide de rinçage
Reportez-vous au chapitre "En cas d'ano-
malie de fonctionnement". Commencez par
le dosage le plus bas.
1. Tournez la flèche (3) dans le sens des ai-
guilles d'une montre pour augmenter la
dose.
2. Augmentez le dosage si vous constatez
la présence de gouttes d'eau ou de ta-
ches de calcaire sur la vaisselle au terme
du lavage.
3. Remplissez le distributeur de liquide de
rinçage lorsque le liquide approche du ni-
veau inférieur de l'indicateur.
Rangement des couverts et de la vaisselle
Conseils utiles
Attention Utilisez uniquement l'appareil
pour le lavege d'ustensiles de cuisine et
de vaisselle lavables en lave-vaisselle.
Tout objet absorbant l'eau (chiffon, éponges
de nettoyage, ...) ne doivent pas être lavés au
lave-vaisselle.
Avant de charger la vaisselle, veillez à :
Enlever tous les restes d'aliments.
Laisser tremper les casseroles au fond
desquelles adhèrent des restes d'ali-
ments brûlés ou attachés.
Lorsque vous chargez la vaisselle et les
couverts :
Chargez les articles creux tels que tas-
ses, verres et casseroles, etc. en les re-
tournant.
Assurez-vous que l'eau ne s'accumule
pas dans un creux ou dans un fond
bombé.
Assurez-vous que la vaisselle et les cou-
verts ne soient pas insérés les uns dans
les autres, ou ne se chevauchent.
Assurez-vous que les couverts et la
vaisselle ne recouvrent pas d'autres us-
tensiles.
Vérifiez que les verres ne se touchent
pas pour éviter qu'ils ne se brisent.
Placez les petites pièces dans le panier
à couverts.
La vaisselle en plastique et les poêles en
matériau antiadhésif tendent à retenir les
gouttes d'eau.
Ces articles ne seront pas séchés aussi
bien que les articles en porcelaine et en
acier.
23

Table of Contents

Related product manuals