EasyManua.ls Logo

Dometic DW2410 - Sistemazione DI Posate E Stoviglie

Dometic DW2410
68 pages
Print Icon
To Next Page IconTo Next Page
To Next Page IconTo Next Page
To Previous Page IconTo Previous Page
To Previous Page IconTo Previous Page
Loading...
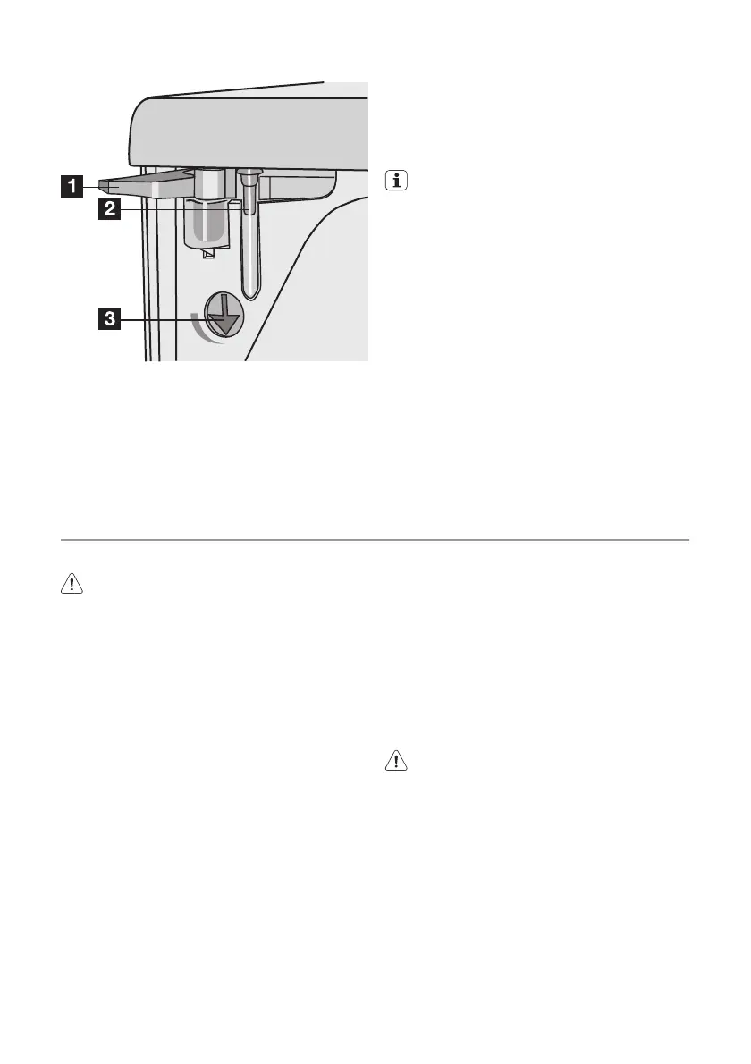
1. Ruotare la vaschetta di riempimento (1)
per aprire il contenitore del brillantante.
2. Riempire il contenitore del brillantante
con brillantante. La linea rossa sull'indi-
catore di livello (2) indica il livello massimo.
3. Togliere l'eventuale brillantante fuoriusci-
to con un panno assorbente per evitare
la formazione di schiuma eccessiva du-
rante il lavaggio successivo.
4. Ruotare la vaschetta di riempimento (1)
per chiudere il contenitore del brillantan-
te.
La capacità del contenitore del brillan-
tante è di circa 140 ml. Tale quantitativo
di brillantante è sufficiente per circa
40-70 lavaggi.
Regolazione del quantitativo di
brillantante
Osservare i risultati di lavaggio (capitolo sulla
risoluzione dei problemi). Iniziare con il do-
saggio più basso.
1. Ruotare la freccia (3) in senso orario per
aumentare il dosaggio.
2. Aumentare il dosaggio se sulle stoviglie
rimangono goccioline di acqua o mac-
chie di calcare.
3. Riempire il contenitore del brillantante
quando il livello del brillantante si avvicina
al fondo dell'indicatore.
Sistemazione di posate e stoviglie
Consigli e suggerimenti pratici
Attenzione Utilizzare l'apparecchio
solo per lavare utensili idonei alla
lavastoviglie.
Non utilizzare l'apparecchio per lavare og-
getti che possano assorbire acqua (spugne,
strofinacci ecc.).
Prima di caricare posate e piatti, procede-
re nel modo seguente:
Eliminare eventuali residui di cibo.
Ammorbidire le tracce di bruciato nei te-
gami.
Mentre si caricano posate e piatti, proce-
dere nel modo seguente:
Caricare utensili cavi (per es. tazze, bic-
chieri e padelle) con l'apertura rivolta
verso il basso.
Verificare che l'acqua non si fermi nel
contenitore o in una sua parte concava.
Controllare che posate e stoviglie non
siano le une dentro alle altre.
Controllare che posate e stoviglie non
coprano altri oggetti.
Verificare che i bicchieri non si tocchino
l'un l'altro.
Mettere gli utensili di piccole dimensioni
nel cestello delle posate.
Oggetti in plastica e padelle con fondo an-
tiaderente tendono a trattenere maggior-
mente le gocce d'acqua.
Gli oggetti in plastica non si asciugano al-
trettanto rapidamente quanto quelli in por-
cellana o acciaio.
Mettere gli utensili leggeri nel cestello prin-
cipale. Controllare che non si possano
muovere.
Attenzione Controllare che il mulinello
si possa muovere liberamente prima di
avviare un programma di lavaggio.
Cestello principale
Disporre piatti fondi e coperchi di grandi di-
mensioni ai lati del cestello. Disporre le sto-
viglie sopra e sotto la griglia porta-tazze.
L'acqua deve potere venire a contatto con
tutte le parti delle stoviglie.
Per gli oggetti più alti, è possibile sollevare le
griglie porta-tazze.
56

Table of Contents

Related product manuals