EasyManua.ls Logo

dosatron D 20 S - Putting the Dosatron into Operation; First-Time Use and Priming; Hydraulic By-Pass Operation

dosatron D 20 S
29 pages
Print Icon
To Next Page IconTo Next Page
To Next Page IconTo Next Page
To Previous Page IconTo Previous Page
To Previous Page IconTo Previous Page
Loading...
©
DOSATRON INTERNATIONAL / 16
Putting the DOSATRON
into order
USING FOR THE FIRST TIME
The Dosatron unit comes on OFF position.
- Bring the bypass button (model D20S) into median position.
- Open the water inlet valve slowly, the Dosatron is self-priming.
- Operate the Dosatron until the product to be injected is drawn up into the
injection stem (the product is visible through the plastic tube).
- The Dosatron makes a characteristic “click-clack” noise when working.
NOTE : The time required to prime the suction hose depends on the water
flow-rate, the ratio setting and the length of the suction hose. To bleed the
air from the suction hose and accelerate the priming, set the injection rate at
maximum. Once the Dosatron is primed, adjust to the required injection rate
(see § ADJUSTING THE INJECTION RATE).
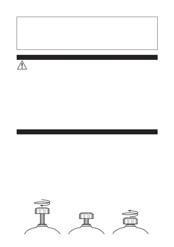
A mechanism to select either the dosing function or the by-pass
mode, only for D20S model:
- Completely unscrew the bypass button on the top of the unit (Fig.8-A), the
Dosatron is working and sucking product.
- The dosing unit is operating (significant noise can be heard).
Bypass operation:
- Completely screw the bypass button (Fig. 8-C), the Dosatron stops (no
more noise) and does not suck product any more. The water continues to
flow through the unit.
ATTENTION : The median position is the draining position (Fig. 8-B). It is
normal that the bypass screw is leaking when the bypass is in the median
position.
INCORPORATED HYDRAULIC BY-PASS
Fig. 8
A
ON
OFF
B
C