EasyManua.ls Logo

Doyon DSF015 - Chapter 4 - Technical Data; General Dimensions; Technical Characteristics

Doyon DSF015
18 pages
Print Icon
To Next Page IconTo Next Page
To Next Page IconTo Next Page
To Previous Page IconTo Previous Page
To Previous Page IconTo Previous Page
Loading...
DSF-A.DOC 11/02
5
CHAPTER 4
TECHNICAL DATA
4.1 - GENERAL DIMENSIONS
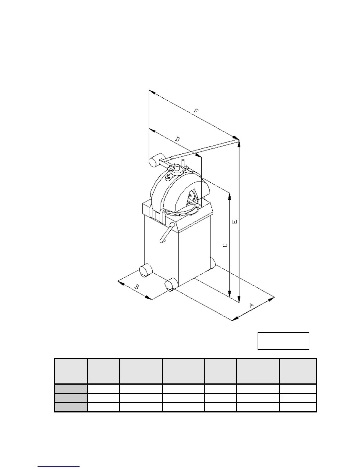
The figure 2 shows the machine’s dimensions.
General dimensions of the semi-automatic divider rounder
Model A
Inch/mm
B
Inch/mm
C
Inch/mm
D
Inch/mm
E
Inch/mm
F
Inch/mm
DSF 015
23/585 20/508 54/1371 24/610 83/2108 47/1194
DSF 022
23/585 20/508 54/1371 24/610 83/2108 47/1194
DSF 030
23/585 20/508 54/1371 24/610 83/2108 47/1194
4.2 - TECHNICAL CHARACTERISTICS
FIG. 2

Related product manuals