EasyManua.ls Logo

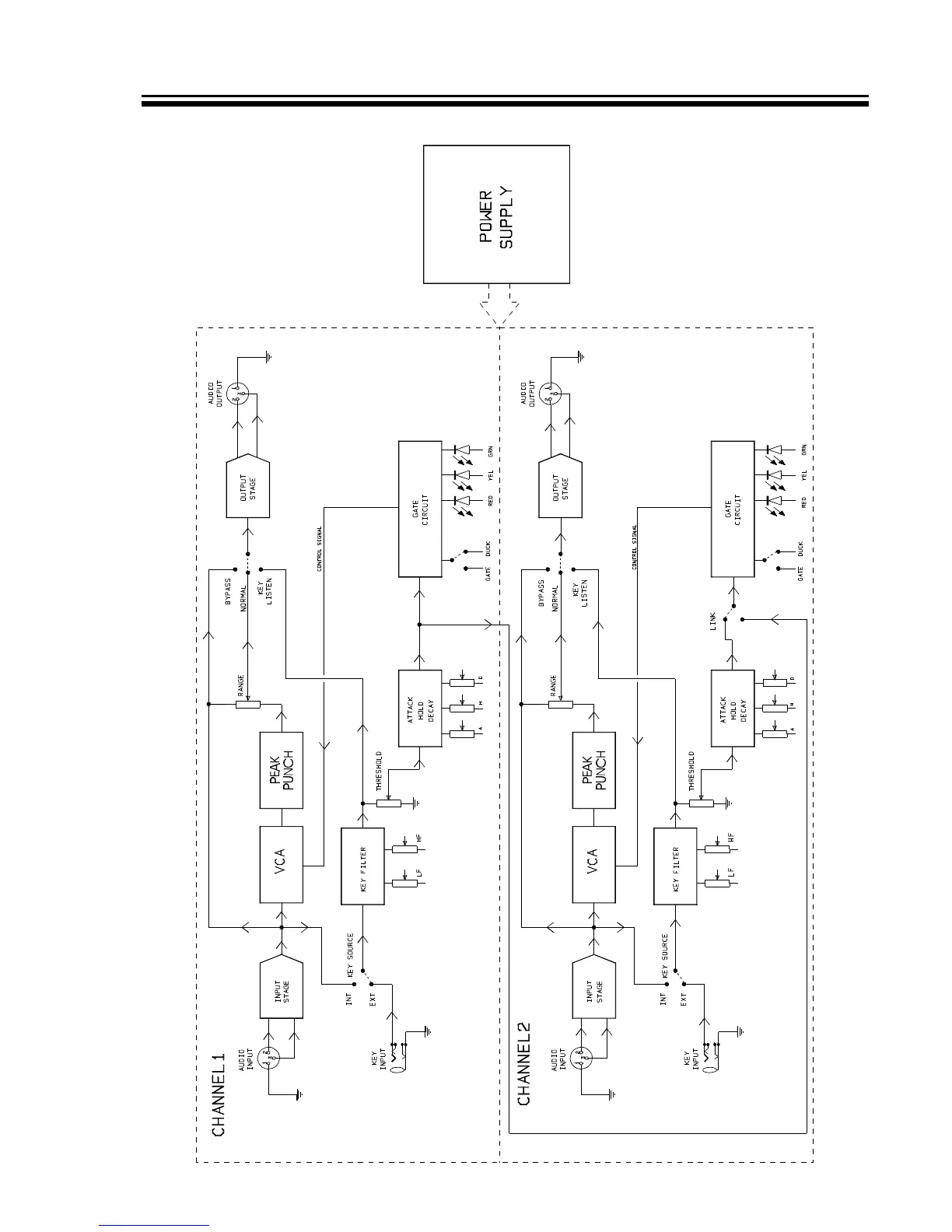
Drawmer DS501 - Block Diagram

Drawmer DS501
15 pages
Print Icon
To Previous Page IconTo Previous Page
To Previous Page IconTo Previous Page
Loading...
DS501 OPERATORS’ MANUAL 13
BLOCK DIAGRAM

Related product manuals