EasyManua.ls Logo

Dripex F609A - Step 1: Secure Front Foot Tube; Step 2: Secure Seat Bracket and Rear Foot Tube

Dripex F609A
20 pages
Print Icon
To Next Page IconTo Next Page
To Next Page IconTo Next Page
To Previous Page IconTo Previous Page
To Previous Page IconTo Previous Page
Loading...
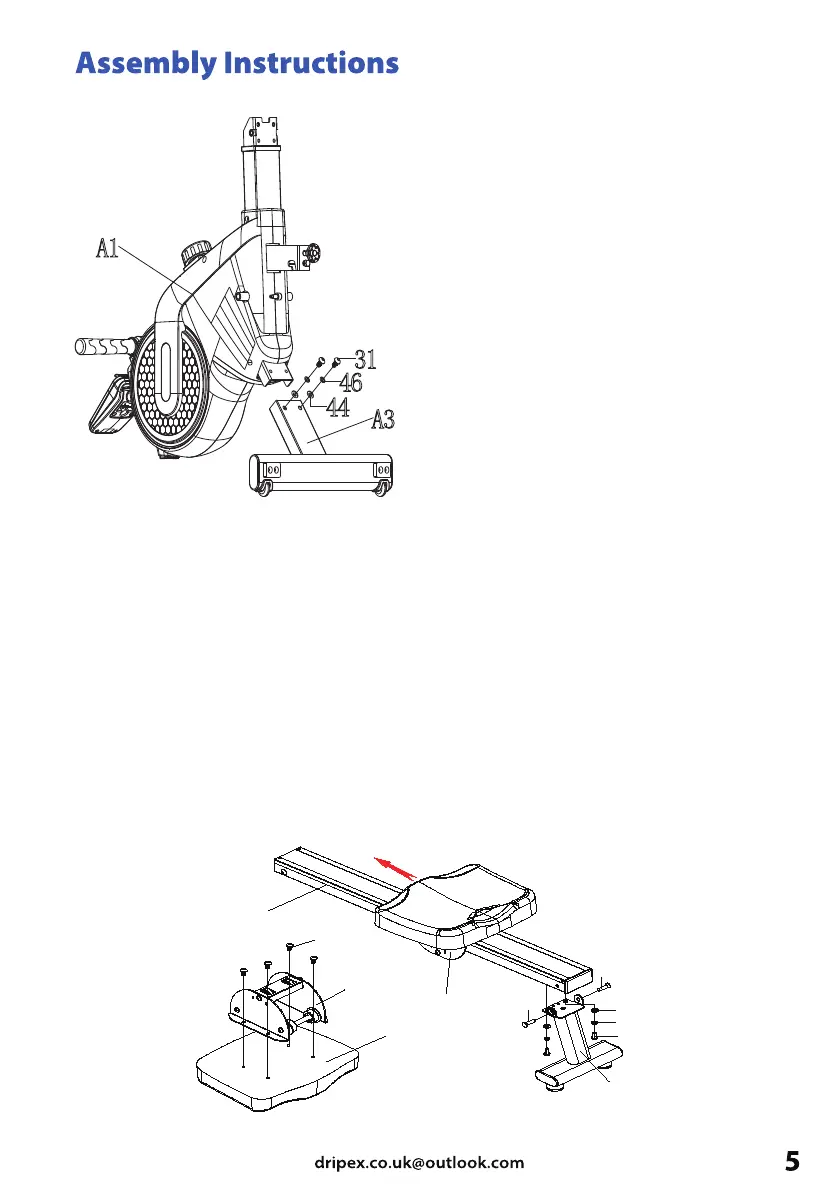
Step 1:
Step 2:
1. Using Allen Wrench (T2), Hex
Socket Button Head Bolt (31), Spring
Washer (46) and Flat Washer (44)
supplied to secure the Front Foot
Tube (A3) to the Main Frame Set (A1)
as shown.
31
46
44
A1
A3
1. Unscrew the pre-assembled Hex Socket Button Head Bolt (28) first.
2. Using Allen Wrench (T2), Hex Socket Button Head Bolt (28) to secure the
Seat Bracket (A5) to the Seat (11).
3. Carefully slide the Seat Bracket (A5) into the Slide Rail (A2)
Note: Please check the correct direction of the seat first as shown.
4. Using Allen Wrench (T2),Hex Socket Button Head Bolt (31), Hex Socket
Countersunk Head Bolt (29) Spring Washer (46) and Flat Washer (44) supplied
to secure the Rear Foot Tube (A4) to the Slide Rail (A2) as shown.
2 9
3
1
4 6
4
4
2 9
A 5
A 2
A 4
A 1 1
A 5
2 8