EasyManua.ls Logo

Drive AGF-3E - Preparación para Su Uso

Drive AGF-3E
48 pages
Print Icon
To Next Page IconTo Next Page
To Next Page IconTo Next Page
To Previous Page IconTo Previous Page
To Previous Page IconTo Previous Page
Loading...
22
PREPARACIÓN PARA SU USO
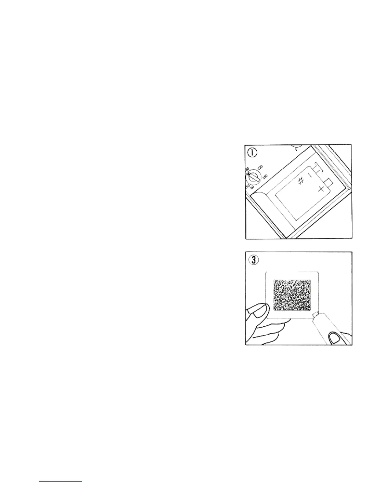
1. Cheque la batería. Asegúrese de estar usando una batería nueva.
2. Prepare la piel. Antes de aplicar los electrodos, asegúrese de
confirmar la ubicación correcta con su médico o terapeuta. Cada
ubicación debe ser lavada, enjuagada y secada completamente.
3. Preparar electrodos. Aplique una capa delgada (aproximadamente
del grosor de una caja de cerillos) y uniforme de gel sobre la parte
de abajo del electrodo. Evite usar mucho gel.

Related product manuals