EasyManua.ls Logo

Dyadic Systems SCN Series - Power Input Circuit; When Driving Coils or Other Inductive Loads

Dyadic Systems SCN Series
63 pages
Print Icon
To Next Page IconTo Next Page
To Next Page IconTo Next Page
To Previous Page IconTo Previous Page
To Previous Page IconTo Previous Page
Loading...
. .
Dyadic Systems – Mechatronics Cylinder Manual MF-005500-EN-26/63
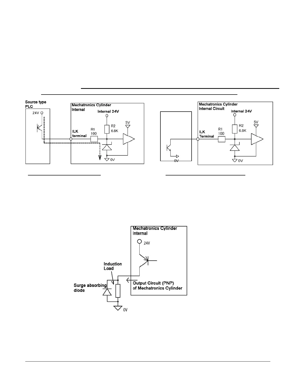
4.3.3. Power input circuit
Ensure all I/O of the Mechatronics Cylinder are connected to either 0VDC or 24VDC±10%.
Connection to any voltage in between these values may result in damage to the input or output.
The input circuits of the Mechatronics Cylinder are designed as non-isolated dedicated source drive
circuits as described below. Therefore it is necessary to connect (ON) with +24V terminal, or open (OFF)
with +24V terminal by using source type output circuit.
As shown below, the input circuit will receive over current and the internal circuit will be damaged
if a PNP input is driven by a sinking output circuit or connected with 0V directly.
4.3.4. When Driving Coils or Other Inductive Loads
When using outputs to drive induction loads:
The output circuits of the Mechatronics Cylinder are open collector outputs as shown below. Therefore
when driving an external load (such as a coil), please use an external surge diode or solid state relay.
Surge voltage can damage the output circuit.
Fig. 2 Good PNP Input Circuit Fig. 3 Bad circuit (PNP) example
X O
Sink type
PLC

Table of Contents

Related product manuals