EasyManua.ls Logo

Dyna-Glo DGN486DNC-D - Page 30

Dyna-Glo DGN486DNC-D
54 pages
Print Icon
To Next Page IconTo Next Page
To Next Page IconTo Next Page
To Previous Page IconTo Previous Page
To Previous Page IconTo Previous Page
Loading...
30
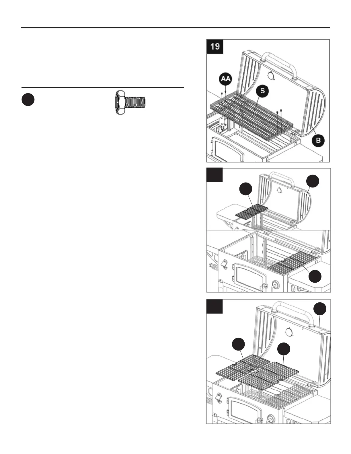
INSTRUCTIONS POUR L’ASSEMBLAGE
19. Placez le plateau à charbons (S) à l’intérieur
de l’assemblage couvercle/barbecue avec
quatre boulons M6x12 (AA).
20. Placez une petit grille (T) à l’extrémité gauche
du cadre de la grille à l’intérieur de l’ensemble
du couvercle et du foyer (B). Glissez la grille au
centre.
21. Placez une deuxième petit grille (T) sur le
cadre inférieur de l’ensemble du couvercle et du
foyer (B) (à l’extrémité gauche). Placez
la grande grille (T) sur le cadre supérieur
de l’ensemble du couvercle et du foyer (B),
conformément à l’illustration.
Quincaillerie utilisée
x 4
AA
Vis M6
de 12 mm
B
Y
20
B
21
Y
T
Y

Related product manuals