EasyManua.ls Logo

Ebro EBI 300 - Display

Ebro EBI 300
44 pages
Print Icon
To Next Page IconTo Next Page
To Next Page IconTo Next Page
To Previous Page IconTo Previous Page
To Previous Page IconTo Previous Page
Loading...
12 Bedienungsanleitung
EBI 300 / EBI 310 Deutsch
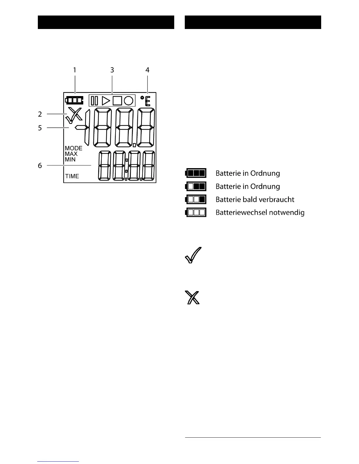
Display
Das Display (LCD) enthält folgende Anzei-
geelemente:
1 Batterieanzeige
2 Alarmanzeige
3 Aufzeichnungsanzeige
4 Messgröße
5 Messwert
6 Laufzeit / Menü
1 Batterieanzeige
2 Alarmanzeige
Die gemessenen Temperatur-
werte sind alle innerhalb der
vorher programmierten Tempe-
raturgrenzen.
Die gemessenen Temperatur-
werte waren außerhalb der vor-
her programmierten Grenzen.
Wenn bei der Programmierung
aktiviert, blinkt zusätzlich eine
rote LED.

Table of Contents

Related product manuals