EasyManua.ls Logo

Ecler DP400 - THE MAIN MENU; Program and Security Options

Ecler DP400
24 pages
Print Icon
To Next Page IconTo Next Page
To Next Page IconTo Next Page
To Previous Page IconTo Previous Page
To Previous Page IconTo Previous Page
Loading...
10
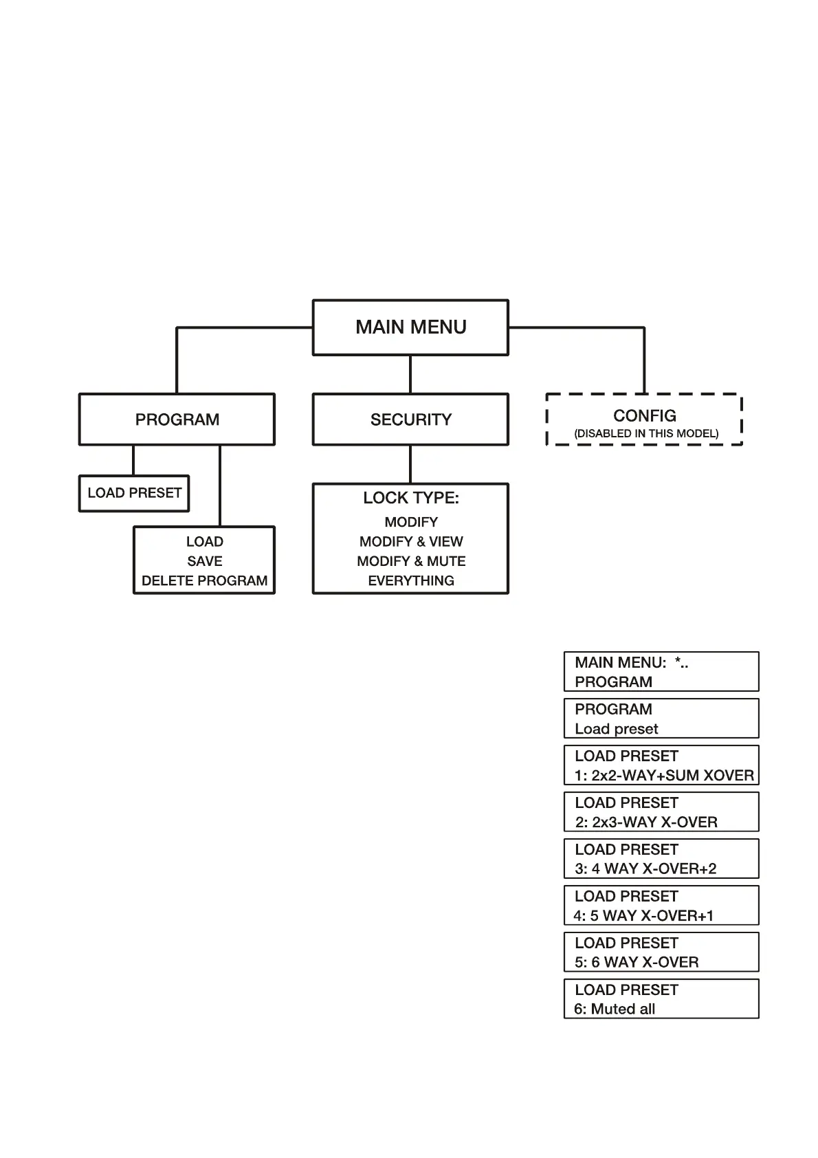
6. THE MAIN MENU
From the MAIN MENU, you can manage functions and parameters like:
 Selecting the preset or operating mode (PROGRAM submenu)
 Loading, storing and deleting configurations stored in the processor’s internal memory
(PROGRAM submenu)
 Security options (use a password to block the processor) (SECURITY submenu)
To call up the main menu, press the ENCODER several times until MAIN MENU appears.
The following diagram shows the main menu and each of its submenus:
6.1. LOAD PRESET MENU: CONFIGURING THE OPERATING MODE
The DP400 allows the following operating modes:
1. x-over 2x2 way + 1 extra output
2. 2x3 way stereo
3. x-over 4 way + 2 extra outputs
4. x-over 5 way + 1 extra output
5. x-over 6 way
6. All inputs and outputs muted
Once installed and switched on, the unit should be configured in order to
choose the operating mode (preset). For this, you must:
 Press the ENCODER several times until MAIN MENU –
PROGRAM appears on the screen.
 Press ENTER. The preset selection submenu, LOAD PRESET,
will appear.
 Press ENTER again to display the 6 operating modes, which are
easy to choose by turning the ENCODER. Press ENTER to load
the desired operating mode. The processor is now ready for you
to configure its inputs and outputs (see the INPUTS and
OUTPUTS sections below).

Related product manuals