11 Installing The ecobee System
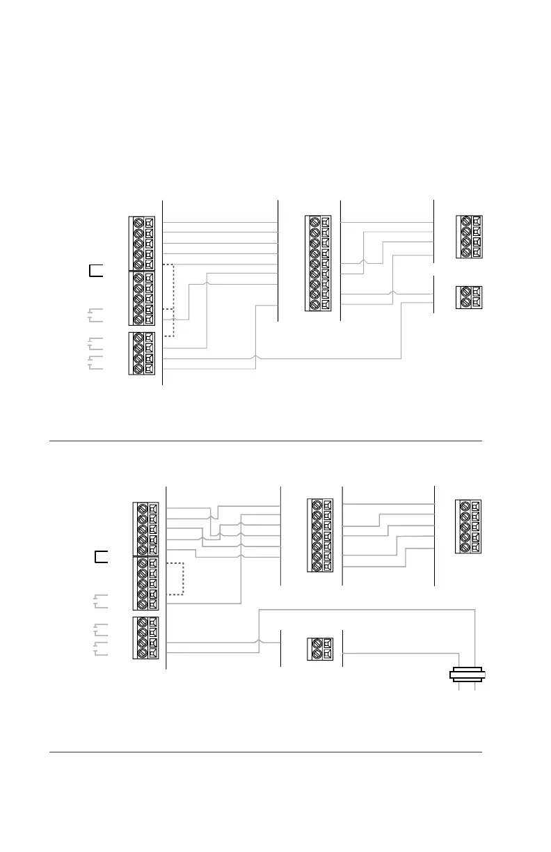
Dual Stage Heat/Cool with Two Accessories
Y
W O/B
G
W2 AUX
R/H
R/C
ACC1
ACC1r
ACC2
ACC2r
ACC3
ACC3r
Equipment Interface
Y1
G
W2
R
W1
Y2
Furnace
Humidier
C
24V
Air Conditioner
NOTE Indicates jumper. Non Powered Accessories will require a jumper from RH | RC to ACC1, ACC2, ACC3 for a 24V feed.
factory installed jumper.
Diagram indicates 24V humidier terminal. If your furnace control board does not have this, you must use a 110V/24V step down transformer.
Two Stage Heat/Cool With 2 Accessories
HRV
C
24V
Y1
Hum
C
HRV
Humidier
Comp2
R
C
Y2
indicates a jumper. Non-powered accessories require a jumper
from RH / RC to ACC1, ACC2, ACC3 for a 24V feed.
Y
W O/B
G
W2 AUX
R/H
R/C
ACC1
ACC1r
ACC2
ACC2r
ACC3
ACC3r
Equipment Interface
Y1
G
W2
R
W1
Y2
Furnace
Humidier
C
24V
Air Conditioner
NOTE Non Powered Accessories will require a jumper from RH | RC to ACC1, ACC2, ACC3 for a 24V feed.
factory installed jumper.
Diagram indicates 24V humidier terminal. If your furnace control board does not have this, you must use a 110V/24V step down transformer.
Two Stage Heat/ Single Stage Cool With 3 Accessories
Dehumidier
HRV
C
24V
C
24V
C
24V
Hum
C
HRV
Humidier
Dehumidier
Dual Stage Heat, Single Stage Cool with Three Accessories
Y
W O/B
G
W2 AUX
R/H
R/C
ACC1
ACC1r
ACC2
ACC2r
ACC3
ACC3r
Equipment Interface
Y1
G
W2
R
W1
Y2
Furnace
Humidier
C
24V
Air Conditioner
NOTE Indicates jumper. Non Powered Accessories will require a jumper from RH | RC to ACC1, ACC2, ACC3 for a 24V feed.
factory installed jumper.
Diagram indicates 24V humidier terminal. If your furnace control board does not have this, you must use a 110V/24V step down transformer.
Three Stage Heat 2 Stage Cool With 1 Accessories
Y1
Hum
C
3rd Stage
Heat
Humidier
2nd Stage
Cool
R
C
Y2
W3
Three Stage Heat, Two-Stage Cool with One Accessory
Single Stage Heat/Cool, Dual Stage Auxiliary Heat with Humidier
Y
W O/B
G
W2 AUX
R/H
R/C
ACC1
ACC1r
ACC2
ACC2r
ACC3
ACC3r
Equipment Interface
O
W1
Y/Y2
G
R
W2
C
Fan Coil
Humidier
Y
O
R
W2
C
C
24V
1-Speed Heat P
ump
CONFIGURE ACC2 - Emerg Heat 2 | ACC3 - Humidier
NOTE Indicates jumper. Non Powered Accessories will require a jumper from RH | RC to ACC1, ACC2, ACC3 for a 24V feed.
factory installed jumper.
1 Stage Heat/Cool With 2 Stage Auxiliary Heat (Duel Fuel) With Humidier Accessory
C 110V
Humidier
Aux Heat
Stage 2
24V
C
Installing The ecobee System 12