EasyManua.ls Logo

Efka AB320A5200 - Page 25

Default Icon
78 pages
Print Icon
To Next Page IconTo Next Page
To Next Page IconTo Next Page
To Previous Page IconTo Previous Page
To Previous Page IconTo Previous Page
Loading...
EFKA AB320A5200
27
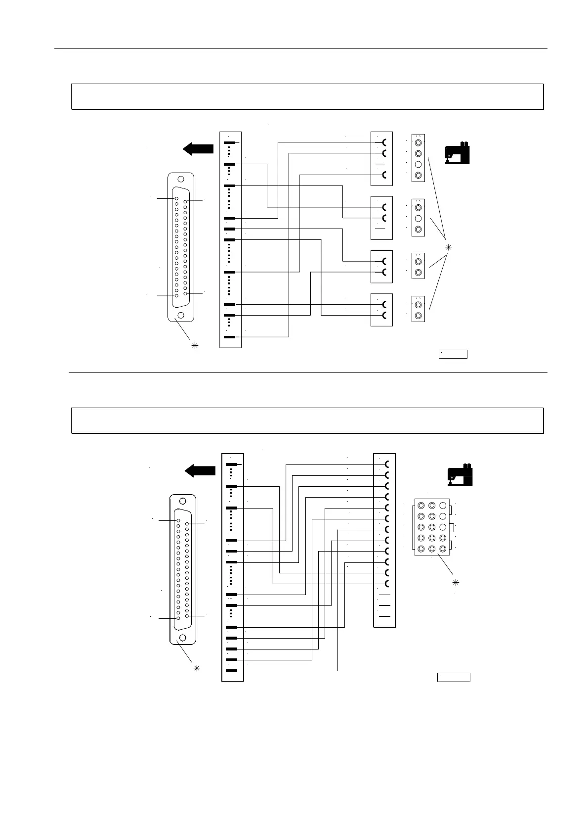
Adapter cord for YAMATO chainstitch machines VC series
Setting the functional sequence Thread trimming mode ! Set parameter 290 = 5
Setting the functions of the keys Input in1 ! Set parameter 240 = 7
Adapter cord for YAMATO chainstitch machines VG series
Setting the functional sequence Thread trimming mode ! Set parameter 290 = 5/21
Setting the functions of the keys Input in1 ! Set parameter 240 = 7
*) Rear view (soldering side) of 37-pin plug (ST2). Front view (component side) of the remaining plugs/sockets.
37 M1
ST2
SUB-D-37
19
1
27 M3
37
34
35
VR
FL
+24V
+24V
+24V
20
16
17
18
4
0V
7 in1
1
N
r.
1112818
KL2237
2
FL
+24V
STV
+24V
2
2
1
2
1
2
1
1
0V
LSP
3
2
1
3
2
1
FW
4
3
3
4
+24V
FA
1
2
1
Nr. 1113178
19
SUB - D- 37
1
ST2
35
37
34
33
37
32
27
26
16
17
18
FL
M1
VR
+ 24V
M5
M3
+ 24V
+ 24V
+ 24V
+ 24V
7
20
4
1
in1
0V
4
FA
7
0V
LSP
FW
STV
ML
15
14
12
13
11
8
9
10
1
2
3
+ 24V
FL
+ 24V
+ 24V
+ 24V
+ 24V
5
6
2
4
3
1
5
KL2405
8
7
6
12
11
13
9
15
14
10

Related product manuals