EasyManua.ls Logo

Ego Power+ CS1610 - Check Chain and Side Cover Direction Arrows; Tension Chain Per Chapter; Caution: Chain Must Be Properly Tensioned

Ego Power+ CS1610
156 pages
Print Icon
To Next Page IconTo Next Page
To Next Page IconTo Next Page
To Previous Page IconTo Previous Page
To Previous Page IconTo Previous Page
Loading...
56V LITHIUM-ION CORDLESS CHAIN SAW — CS1610/CS1610-FC38
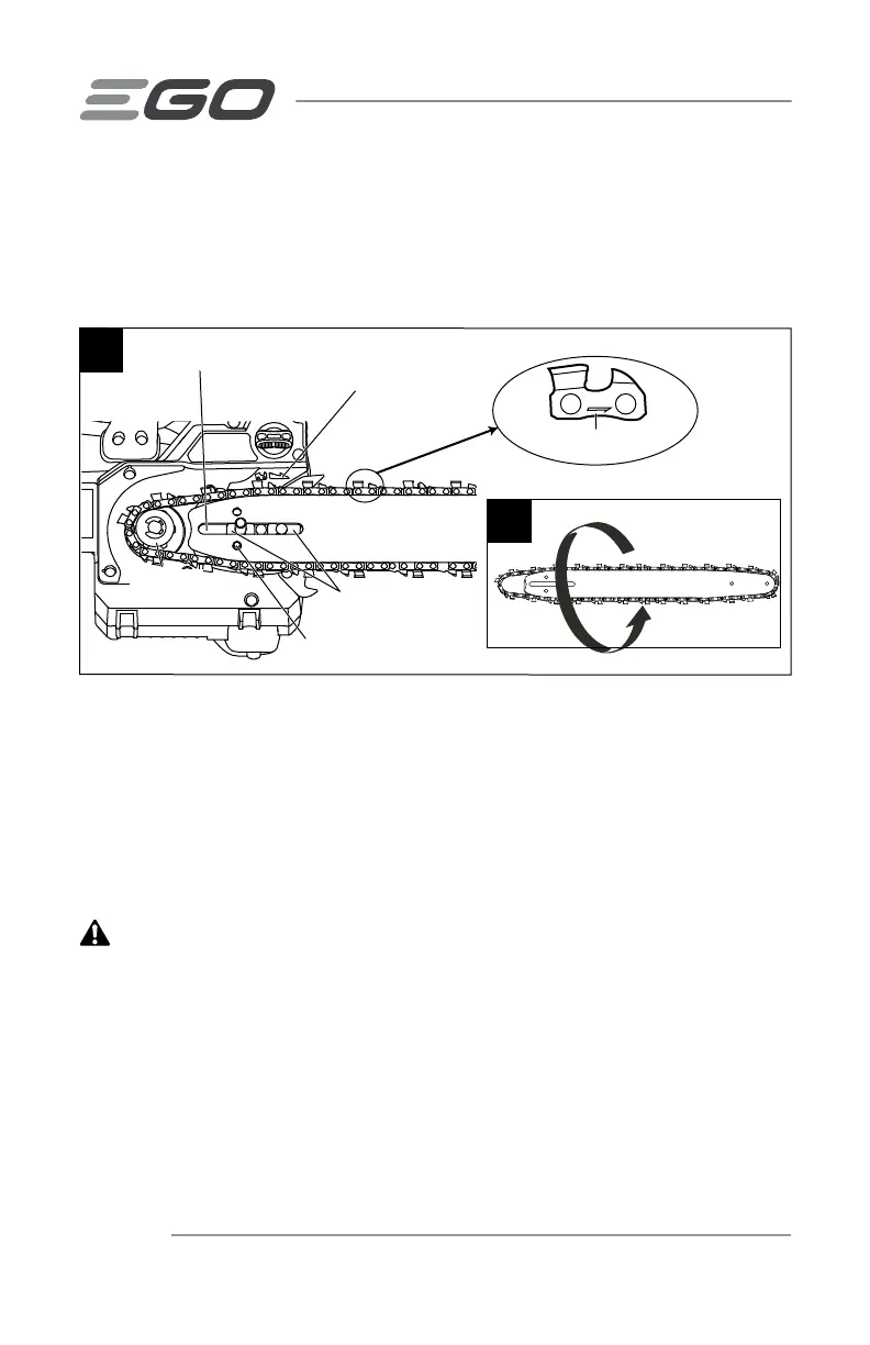
NOTICE: Small directional arrows are engraved in the saw chain and the side cover
(Fig. 27a). When looping the saw chain onto the sprocket, make sure that the direction
of the arrows on the saw chain corresponds to the direction of the arrow on the
side cover. If they face in opposite directions, turn over the saw chain and guide bar
assembly (Fig. 27b).
27a
27b
Sprocket
Tension Adjusting Pin
Guide Bar Slot
Rotation
Direction Arrow
Alignment Flange
Cutter Direction
4. Place the guide bar on the mounting surface by sliding the guide bar slot over the
alignment flanges, making sure that the tension adjusting pin is inserted in the
lower hole in the tail of the bar (Fig. 27a).
5. Replace the side cover and lightly tighten the side-cover knob by turning it
clockwise. The bar must be free to move for tension adjustment.
6. Tension the chain by following the chapter ADJUSTING THE CHAIN TENSION”.
NOTICE: To extend the guide bar life, invert the bar occasionally.
CAUTION:
The saw chain must be properly tensioned before using.

Related product manuals