EasyManua.ls Logo

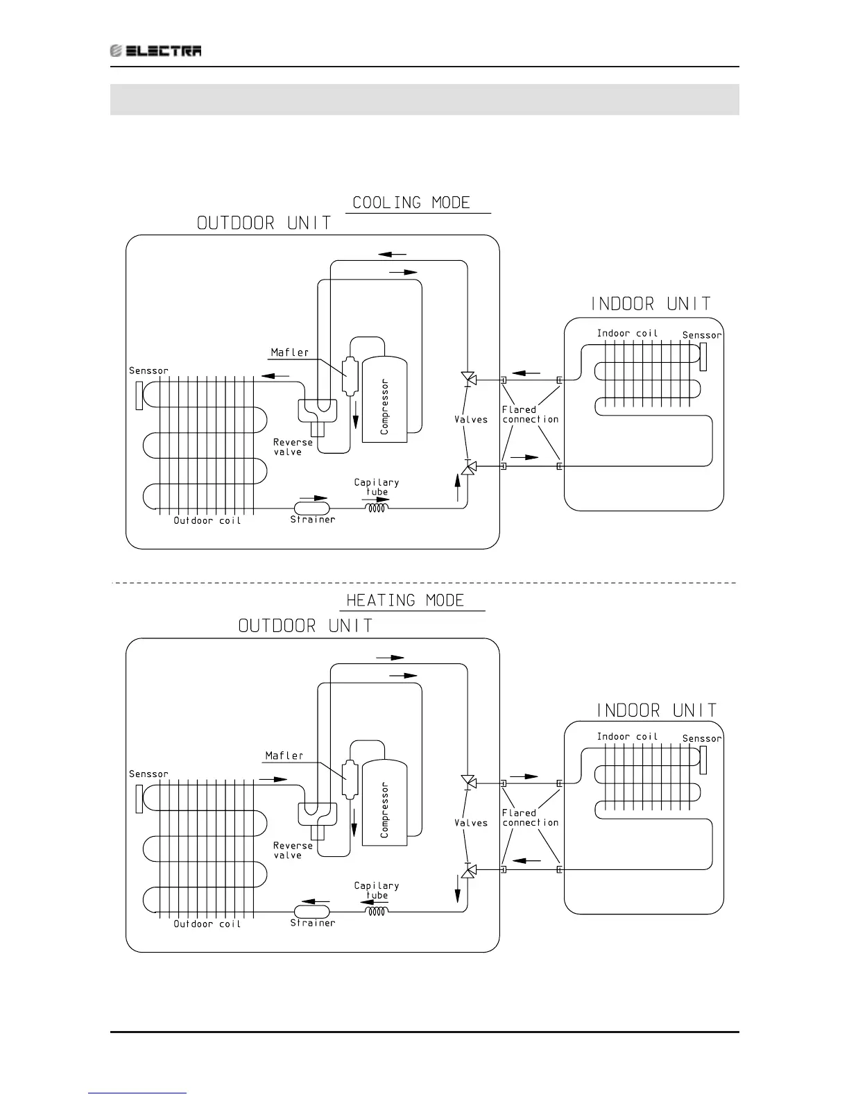
Electra EMD 27 - REFRIGERATION DIAGRAMS; REFRIGERANT FLOW DIAGRAMS

Electra EMD 27
72 pages
Print Icon
To Next Page IconTo Next Page
To Next Page IconTo Next Page
To Previous Page IconTo Previous Page
To Previous Page IconTo Previous Page
Loading...
6-1
REFRIGERATION DIAGRAMS
Revision Y05-01Service Manual - EMD Series
6. REFRIGERATION DIAGRAMS
6.1 Model: EMD 27 RC
Heat Pump

Table of Contents

Related product manuals