EasyManua.ls Logo

Electra EMD 27 - Gang Board; Display Board

Electra EMD 27
72 pages
Print Icon
To Next Page IconTo Next Page
To Next Page IconTo Next Page
To Previous Page IconTo Previous Page
To Previous Page IconTo Previous Page
Loading...
7-4
CONTROL SYSTEM
Revision Y05-01
Service Manual - EMD Series
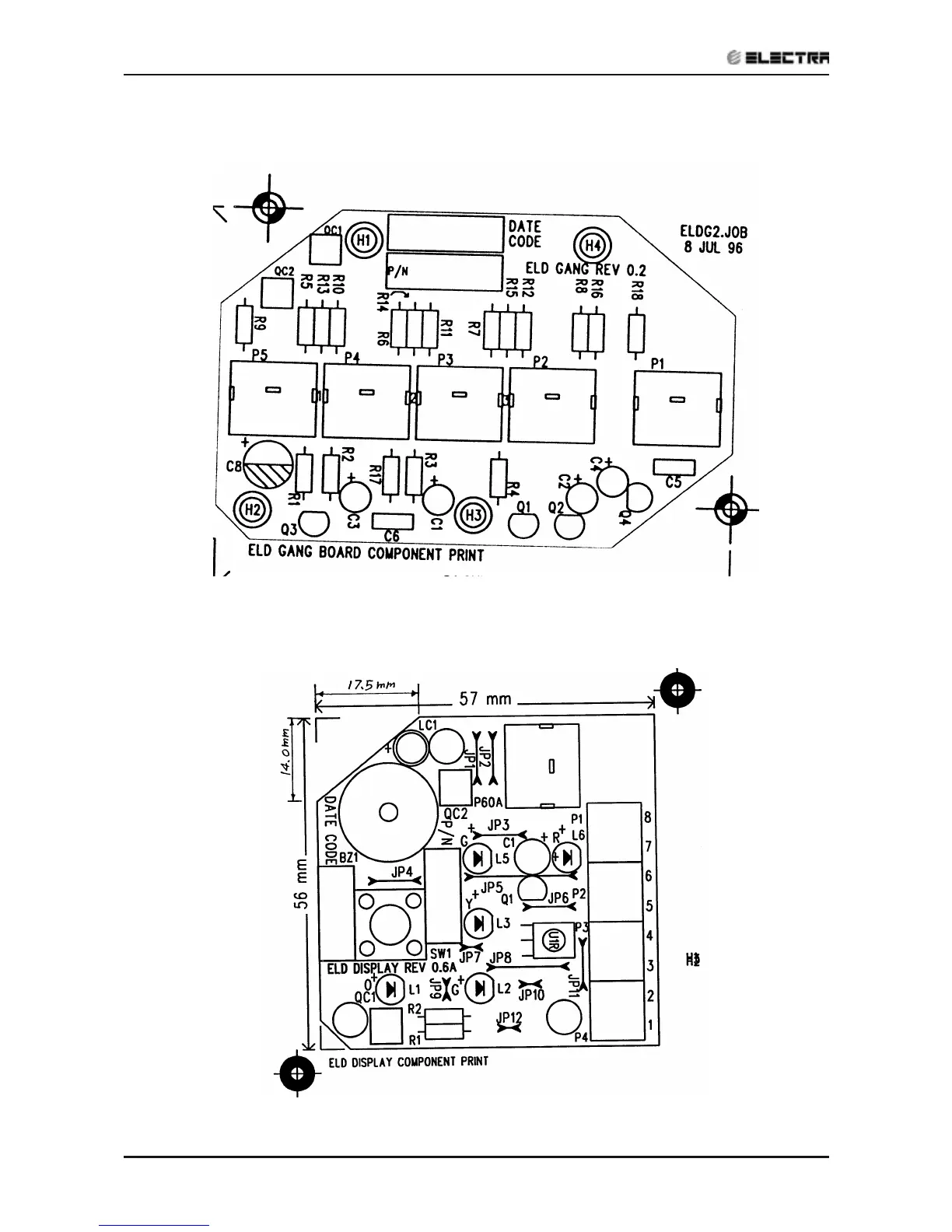
GANG BOARD
DISPLAY BOARD

Table of Contents

Related product manuals