EasyManua.ls Logo

Electrolux 65G - Page 7

Electrolux 65G
20 pages
Print Icon
To Next Page IconTo Next Page
To Next Page IconTo Next Page
To Previous Page IconTo Previous Page
To Previous Page IconTo Previous Page
Loading...
7
F
Grill burner ignition
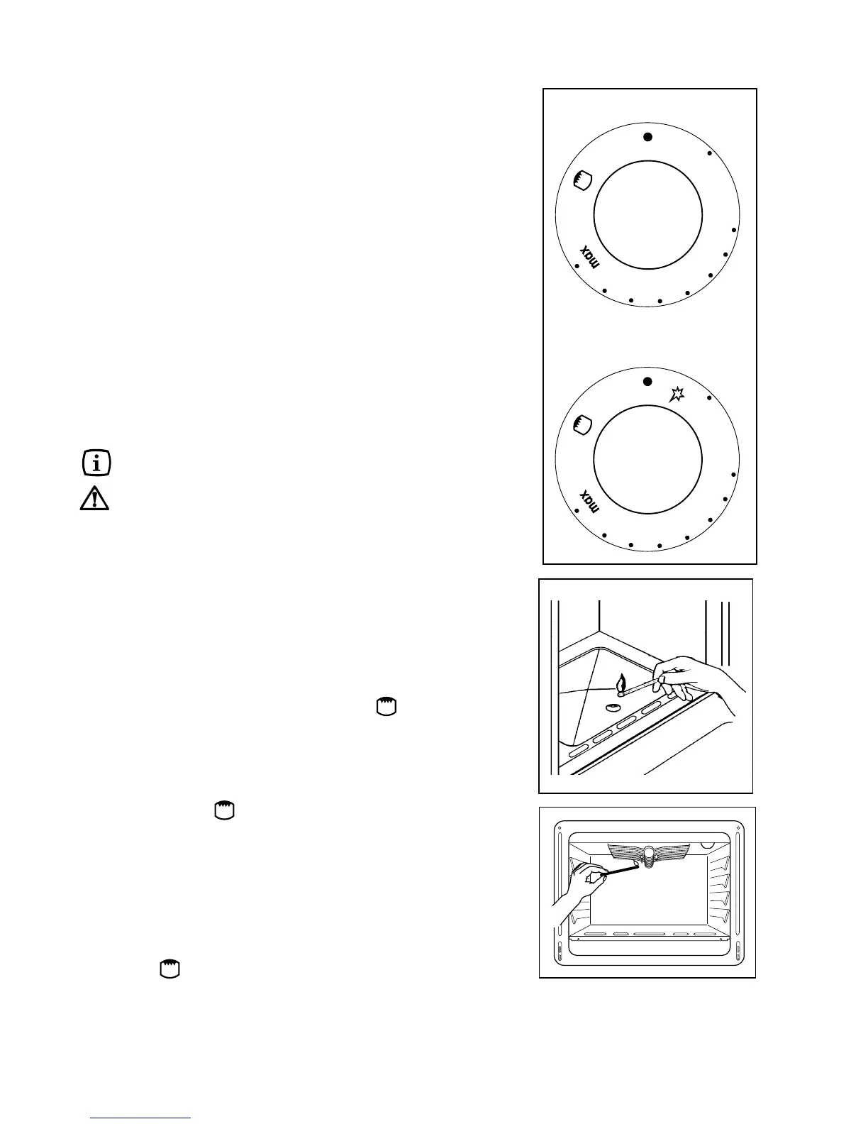
Open the oven door;
turn the oven knob (Fig. 7) on the Grill symbol . Upon
ignition, keep the knob pushed in for about 5 seconds.
For manual ignition:
open the oven door and hold a flame near the gas grill
burner holes, as shown in Fig. 9;
press the oven knob and turn it clockwise until it points
on the Grill symbol ;
keep the oven knob pushed in for about 5 seconds until
the safety valve automatically keeps the oven burner lit.
If the burner does not light first time, repeat the operation
keeping the knob pressed in slightly longer. Once the oven
has been lit, adjust the flame as required.
FO 0829
Fig. 9
Oven light switch
It allows the oven internal light to be switched on.
F
Ignition
1. Open the oven door, then push and turn the oven knob
(Fig. 7) in anti-clockwise direction to the maximum tempe-
rature position;
2. Upon ignition keep the knob pushed in for about 5 seconds.
Mod. 65 G - 95 G
open the oven door and hold a flame near the hole in the
bottom as shown in Fig. 8;
press the oven knob and turn anti-clockwise until the
maximum temperature position is reached;
press in the oven knob for approximately 5 seconds until
the safety valve automatically keeps the oven burner lit.
If the burner does not light first time, keep the oven door open
and wait 1 minute at least before repeating the operation.
Once the oven has been lit, adjust the flame as required.
If the flame should accidentally go out, turn the oven knob
at the "off" position (symbol "l") and wait 1 minute at least
before retrying to light the burner.
Ignition of the oven burner must be carried out with
the oven door open.
When cooking with the oven or grill, the cover
must be kept open to avoid over-heating.
To adjust automatically the flame in cookers equipped with
thermostat (Fig. 7), turn the knob to the position
corresponding to the temperature desired, after a few minutes
of work.
Using the Gas Oven
(65 G - 66 GS - 66 EX-T - 95 G - 95 GS - 95 GX - 95 GX-T)
Fig. 7
FO 1079
Fig. 8
FO 2276
Electric grill (65 G only)
In the models with gas oven press and turn the knob clockwise
until position ; at the same time the grill light will come on.
Place the dripping pan under the wire shelf so as to prevent
fat from dripping on the bottom of the oven.
150
175
220
250
min
150
175
220
250
min
Mod. 65 G - 95 G
Mod. 66 GS-66 EX-T-95 GS-95
GX-95 GX-T
F

Related product manuals