EasyManua.ls Logo

Electrolux DMGL8372UO - Page 43

Electrolux DMGL8372UO
60 pages
Print Icon
To Next Page IconTo Next Page
To Next Page IconTo Next Page
To Previous Page IconTo Previous Page
To Previous Page IconTo Previous Page
Loading...
Zum Ändern der Zeit: Wählen Sie die
Kochzone mit und drücken Sie
oder .
Zum Ausschalten der Funktion:
Wählen Sie die Kochzone mit
und
drücken Sie . Die verbleibende Zeit
zählt rückwärts auf 00.
Der Timer beendet das Herunterzählen,
ein Signal ertönt und 00 blinkt. Die
Kochzone wird ausgeschaltet. Drücken
Sie ein beliebiges Symbol, um das
Signal und das Blinken zu beenden.
Kurzzeit-Wecker
Sie können diese Funktion verwenden,
wenn das Kochfeld eingeschaltet, die
Kochzonen aber nicht in Betrieb sind.
Die Heizstufeneinstellung zeigt 00.
1. Drücken Sie
.
2. Die Zeit wird mit oder
eingestellt.
Der Timer beendet das Herunterzählen,
ein Signal ertönt und 00 blinkt. Drücken
Sie ein beliebiges Symbol, um das
Signal und das Blinken zu beenden.
Zum Ausschalten der Funktion:
Drücken Sie und . Die
verbleibende Zeit zählt zurück auf 00.
6.6 Power-Management
Sind mehrere Zonen eingeschaltet und
die verbrauchte Leistung überschreitet
die Begrenzung der Stromversorgung,
teilt diese Funktion die verfügbare
Leistung zwischen allen Kochzonen auf.
Das Kochfeld steuert die Kochstufen, um
die Sicherungen der Hausinstallation zu
schützen.
Die Kochzonen werden nach Position
und Anzahl der Phasen im Kochfeld
gruppiert. Jede Phase darf mit einer
maximalen Leistung von belastet
werden. Erreicht das Kochfeld die
maximale verfügbare Leistung
innerhalb einer Phase, wird die
Leistung der Kochzonen automatisch
reduziert.
Es wird immer die Heizstufe der
zuerst gewählten Kochzone priorisiert.
Die verbleibende Leistung wird
entsprechend der Reihenfolge der
Auswahl auf die anderen Kochzonen
aufgeteilt.
Bei Kochzonen, deren Leistung
reduziert ist, blinkt die Bedienleiste
und zeigt die maximal möglichen
Heizstufen an.
Warten Sie, bis das Display aufhört zu
blinken, oder verringern Sie die
Kochstufe der zuletzt ausgewählten
Kochzone. Die Kochzonen arbeiten
mit der reduzierten Kochstufe weiter.
Ändern Sie bei Bedarf die Kochstufen
der Kochzonen manuell.
Die Dunstabzugshaube ist immer als
elektrische Last verfügbar.
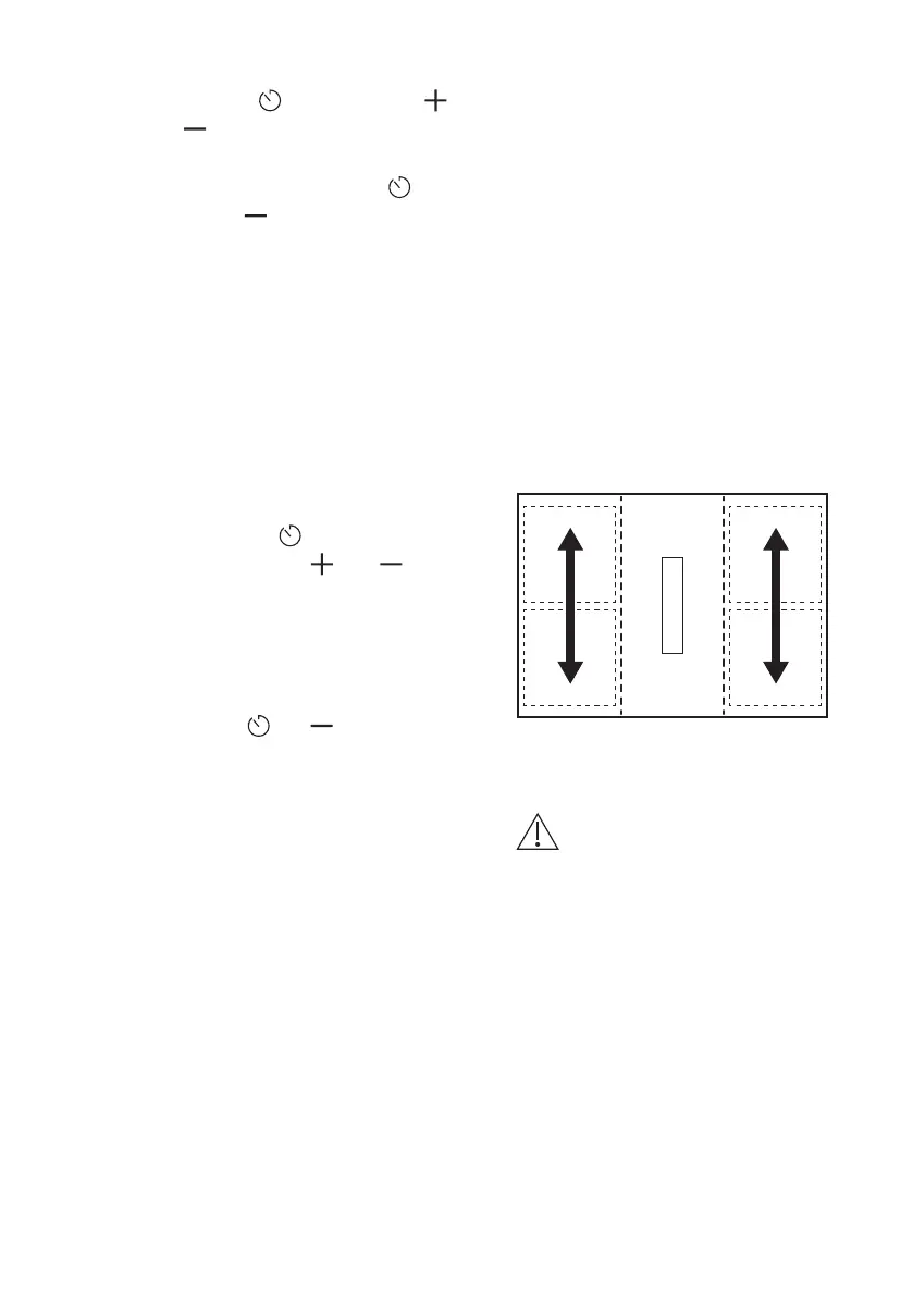
Siehe Abbildung für mögliche
Kombinationen, wie die Leistung unter
den Kochzonen verteilt werden kann.
6.7 Funktionen der
Abzugshaube
WARNUNG!
Siehe Kapitel
Sicherheitshinweise.
Ein- und Ausschalten der
Abzugshaube
Die Abzugshaube kann sowohl während
des Kochvorgangs als auch bei
ausgeschaltetem Kochfeld neben dem
Kochfeld arbeiten.
1. Drücken Sie eine der Gebläsestufen
(1-3) auf der Bedienleiste der
Abzugshaube, um die Haube zu
aktivieren.
Ein Signal ertönt und Anzeigen über der
Bedienleiste der Abzugshaube
erscheinen.
DEUTSCH 43

Related product manuals