EasyManua.ls Logo

Electrolux EDOM - Electronic Timer Operation Details; Automatic Switch-Off Timer

Electrolux EDOM
36 pages
Print Icon
To Next Page IconTo Next Page
To Next Page IconTo Next Page
To Previous Page IconTo Previous Page
To Previous Page IconTo Previous Page
Loading...
10
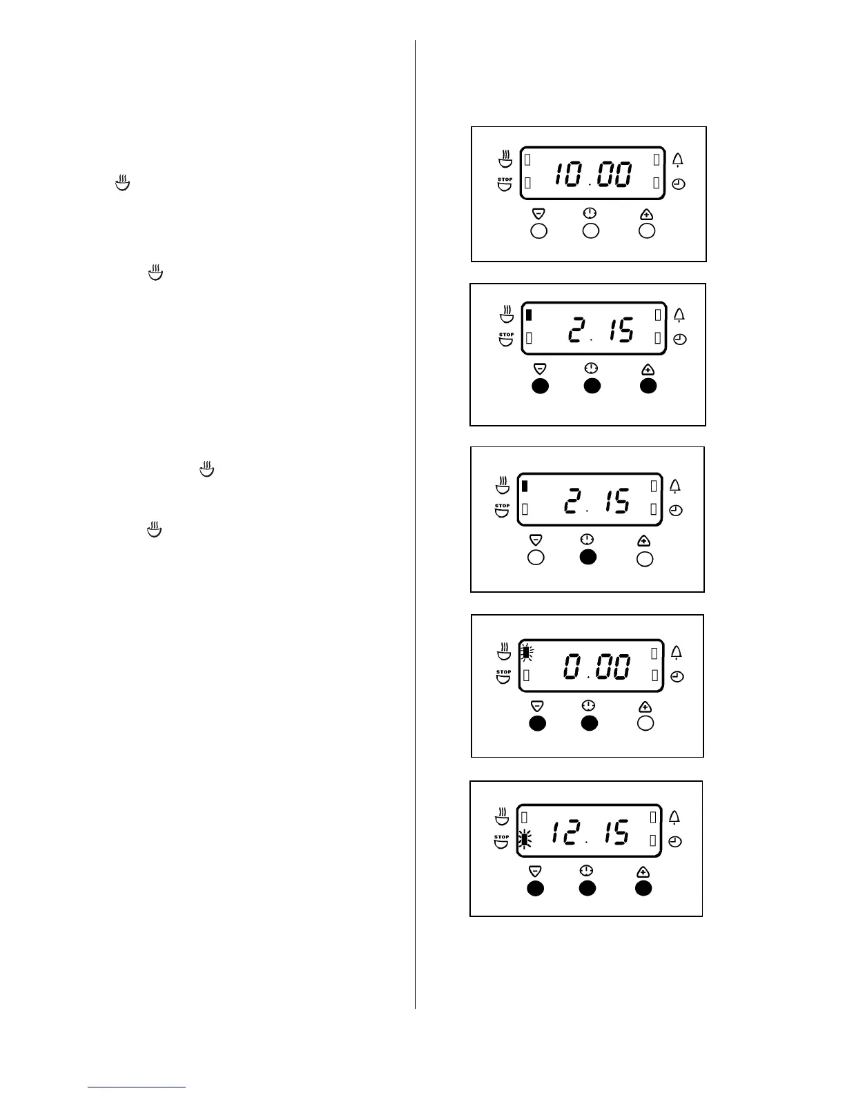
B) TO SET THE TIMER TO SWITCH OFF
ONLY
i) Ensure the electricity supply is switched ON and
that the correct time of day is displayed, e.g.
10.00am as Fig. 9.
ii) Place food in the oven.
iii) To set the length of cooking time, press the
Selector Control button until the 'Cook Time'
( ) indicator neon is illuminated. Press the
increase control ( + ) until the required length of
cooking time is displayed, e.g. 2 hrs 15 mins as
Fig. 10. Depress the decrease control ( - ) if
necessary.
iv) Release the buttons. The 'Cook Time' indicator
neon ( ) will illuminate and the time of day will
be displayed after 5 seconds.
v) Set the oven temperature. The oven indicator
neon should be ON.
vi) To check the 'End Time' during the cooking
period, simply press the Selector Control button
once and the remaining time will be displayed, as
Fig. 11.
4. TO CANCEL AN AUTOMATIC
PROGRAMME
i) To cancel an automatic programme press the
Selector Control button until the 'Cook Time'
indicator neon ( ) flashes. Press the decrease
control ( - ) until the display reads 0.00 as Fig.
12.
ii) Release the buttons. The 'Cook Time' indicator
neon ( ) will flash and after 5 seconds return to
the time of day.
iii) Turn off the oven controls.
5. TO RETURN THE APPLIANCE TO
MANUAL
At the end of a timed cooking period, the
indicator neon will flash and an alarm will sound
for up to 2 minutes.
i) To stop the sound press any of the three buttons,
as Fig. 13.
ii) The display will return to the time of day.
iii) Turn off the oven controls.
6. THINGS TO NOTE
In the event of an interruption of the electricity
supply, the timer will reset itself to zero, and all
programming will be cancelled.
7. AUTOMATIC COOKING
It is advisable to leave food in the oven for as
short a time as possible before automatic
cooking. Always ensure commercially prepared
food is well within its use by date and that home
prepared food is fresh and of good quality.
When cooking is complete, do not leave food to
stand in the oven, but remove and cool it quickly
if the food is not to be consumed immediately.
Always ensure food in the oven has been
covered before cooking if it is not possible to
remove food immediately after cooking.
Fi
g
.9
Fig.10
Fig.11
Fig.12
Fig.13

Table of Contents

Related product manuals