EasyManua.ls Logo

Electrolux EEA71210L - Tauler de Control; Programes

Electrolux EEA71210L
Print Icon
To Next Page IconTo Next Page
To Next Page IconTo Next Page
To Previous Page IconTo Previous Page
To Previous Page IconTo Previous Page
Loading...
3
Filtres
4
Placa de característiques
5
Contenidor de sal
6
Aire respirador
7
Dispensador d’abrillantador
8
Dispensador de detergent
9
Cistella coberteria
10
Cistella inferior
11
Cistella superior
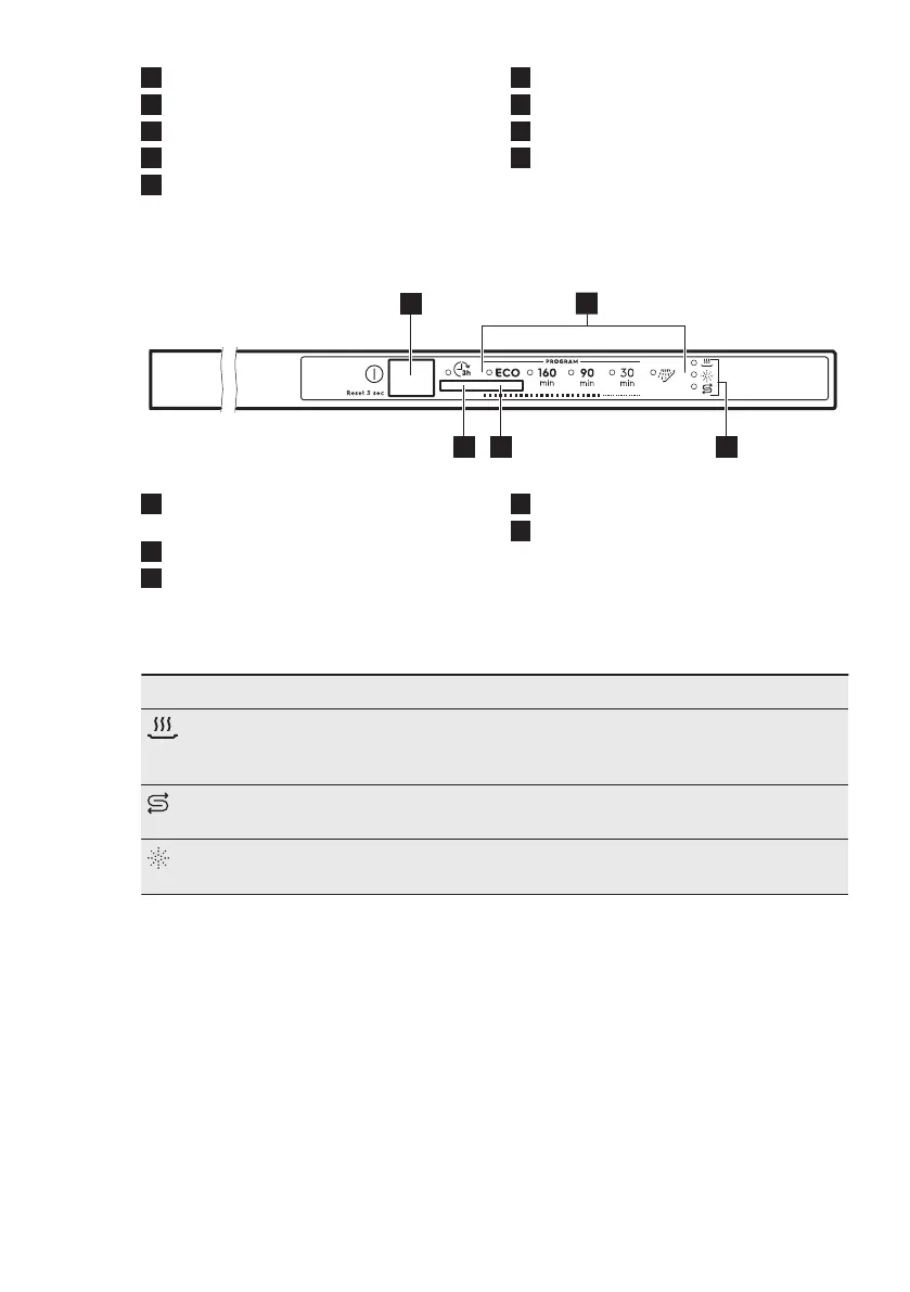
4. TAULER DE CONTROL
21
3
45
1
Botó ON/OFF / Botó RESET
(restabliment)
2
Indicadors de programa
3
Indicadors
4
Botó de programa
5
Botó de retard
4.1 Indicadors
Indicador Descripció
Indicador de fase d’assecat. S’encén quan selecciona un programa
amb la fase d’assecat. Està intermitent si la fase d’assecat està en
funcionament.
Indicador de sal S’encén quan cal omplir el contenidor de sal. Està
sempre apagat si hi ha algun programa funcionant.
Indicador d’abrillantador. S’encén quan cal omplir el dispensador d’a‐
brillantador. Està sempre apagat si hi ha algun programa funcionant.
5. PROGRAMES
L’ordre dels programes a la taula pot no
reflectir la seva seqüència al tauler de
control.
CATALÀ 7

Related product manuals