EasyManua.ls Logo

Electrolux EES27100L - Sound, AirDry, and Key Tone Settings; Accessing Setting Mode

Electrolux EES27100L
24 pages
Print Icon
To Next Page IconTo Next Page
To Next Page IconTo Next Page
To Previous Page IconTo Previous Page
To Previous Page IconTo Previous Page
Loading...
6.3 End sound
You can activate an acoustic signal that
sounds when the programme is
completed.
Acoustic signals sound also
when a malfunction of the
appliance occurs. It is not
possible to deactivate these
signals.
6.4 AirDry
AirDry improves the drying results. The
appliance door opens automatically
during the drying phase and remains
ajar.
AirDry is automatically activated with all
programmes other than Pre-rinse.
CAUTION!
Do not try to close the
appliance door within 2
minutes after automatic
opening. This can cause
damage to the appliance.
CAUTION!
If children have access to
the appliance, we advise to
deactivate AirDry. The
automatic opening of the
door may pose a danger.
6.5 Key tones
The buttons on the control panel make a
click sound when you press them. You
can deactivate this sound.
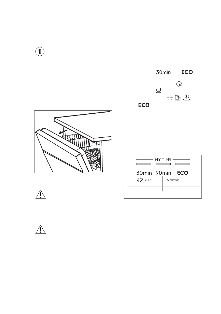
6.6 Setting mode
How to enter setting mode
You can enter setting mode before
starting a programme. You cannot enter
setting mode while the programme is
running.
To enter setting mode, press and hold
simultaneously and for
about 3 seconds.
The light related to
and the
indicator
flash.
The indicators
, , and
are on.
The lights related to MY TIME
selection bar are on.
How to navigate in setting
mode
You can navigate in setting mode using
MY TIME selection bar.
BA C
A. Previous button
B. OK button
C. Next button
Use Previous and Next to switch
between the basic settings and to
change their value.
Use OK to enter the selected setting and
to confirm changing its value.
How to change a setting
Make sure the appliance is in setting
mode.
1. Press Previous or Next until the
indicator dedicated to the desired
setting flashes.
ENGLISH 11

Related product manuals