EasyManua.ls Logo

Electrolux EGG6343NOR - Product Description; Daily Use

Electrolux EGG6343NOR
16 pages
Print Icon
To Next Page IconTo Next Page
To Next Page IconTo Next Page
To Previous Page IconTo Previous Page
To Previous Page IconTo Previous Page
Loading...
Do not clean the burners in the dish-
washer.
Clean the appliance with a moist soft
cloth. Only use neutral detergents. Do
not use abrasive products, abrasive
cleaning pads, solvents or metal ob-
jects.
2.4 Disposal
WARNING!
Risk of injury or suffocation.
Contact your municipal authority for in-
formation on how to discard the appli-
ance correctly.
Disconnect the appliance from the
mains supply.
Cut off the mains cable and discard it.
Flat the external gas pipes.
3. PRODUCT DESCRIPTION
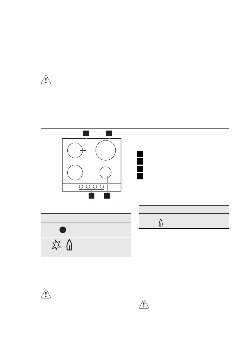
3.1 Cooking surface layout
2
34
1
1
Semi-rapid burner
2
Triple Crown burner
3
Auxiliary burner
4
Control knobs
3.2 Control knobs
Symbol Description
no gas supply /
off position
ignition position /
maximum gas
supply
Symbol Description
minimum gas
supply
4. DAILY USE
WARNING!
Refer to the Safety chapters.
4.1 Ignition of the burner
WARNING!
Be very careful when you use
open fire in kitchen environment.
Manufacturer decline any respon-
sibility in case misuse of the flame
6
www.electrolux.com

Related product manuals