EasyManua.ls Logo

Electrolux EHE6879 - Storage Features

Electrolux EHE6879
20 pages
Print Icon
To Next Page IconTo Next Page
To Next Page IconTo Next Page
To Previous Page IconTo Previous Page
To Previous Page IconTo Previous Page
Loading...
CAUTION
NEVER use an ice pick or similar sharp instrument to
break up the ice. This could d
amage the ice bin and
dispenser mechanism.
To loosen stuck ice, use warm water. Before
replacing the ice bin, make sure it is completely dry.
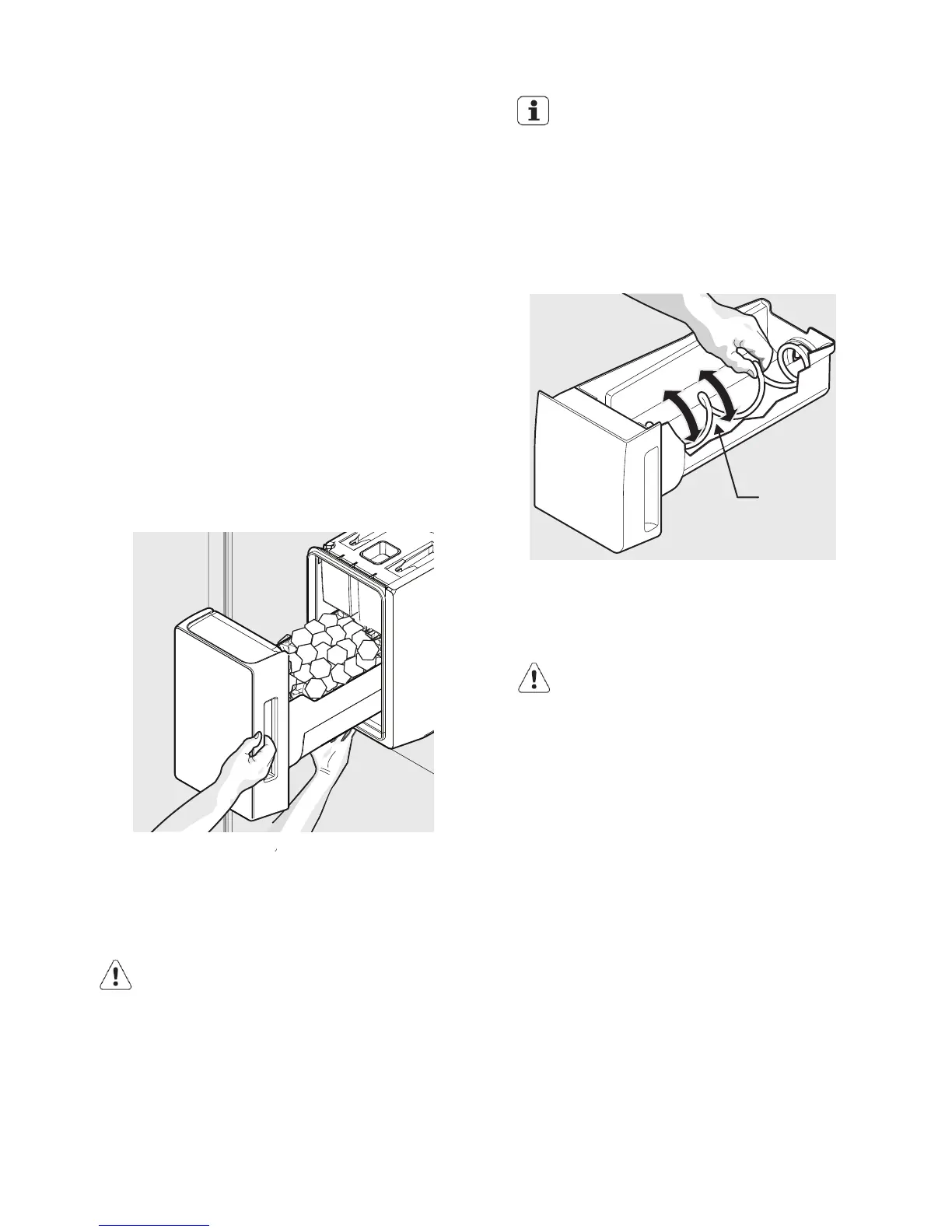
IMPORTANT
When removing or replacing the ice bin, avoid
rotating the auger in the ice bin. If the auger is
accidentally rotated, you must realign
the auger by
turning it in 45 d
egree turns (see below) until the ice
bin fits into place with the drive mechanism. If the
auger is not properly aligned when replacing the ice
bin, the refrigerator will not dispense ice. The fresh
food door also may not c
lose properly causing warm
air to leak into the fresh food compartment.
Adjusting the ice bin Auger
Auger
Removing Ice Bin
Remove the ice bin and shake to loosen the cubes
or clean as explained above.
Cleaning the ice maker
Clean the ice maker and ice bin at regular intervals,
especially prior to vacation or moving.
1. Turn off the ice maker.
2. Remove the ice bin by pulling straight out.
3. Empty and carefully clean the ice bin with mild
detergent. Do not use harsh or abrasive cleaners.
Do not place in dishwasher. Rinse with clear water.
4. Allow the ice bin to dry completely before placing
it back into the freezer.
5. Place ice bin back into position. Turn the ice maker
on.
Remove and empty the ice bin if:
A
n
e
xtended power failure (one hour or longer)
causes
i
c
e
cubes
i
n
the ice bin to melt and refreeze
together after power is restored, jamming the
dispenser mechanism.
If you do not use the ice dispenser frequently. Ice
cubes will freeze together in the bin, jamming the
dispenser mechanism.
STORAGE FEATURES
CAUTION
To avoid personal injury or property damage, handle
tempered glass shelves carefully. Shelves may break
suddenly if nicked, scratched, or exposed to sudden
temperature change. Allow the glass shelves to
stabilize to room temperature before cleaning. Do
not wash in dishwasher.
You can easily adjust shelf positions in the fresh food
compartments to suit your needs. The shelves have
mounting brackets that attach to slotted supports at the
rear of each compartment.
Change the Position of a Shelf
1. Remove all food from shelf.
2. Lift the front edge up and pull the shelf out.
3. Replace by inserting the mounting bracket hooks into
the desired support slots.
4. Lower the shelf and lock into position.
12

Related product manuals