EasyManua.ls Logo

Electrolux EJ2302AOW2 - Täglicher Gebrauch

Electrolux EJ2302AOW2
Print Icon
To Next Page IconTo Next Page
To Next Page IconTo Next Page
To Previous Page IconTo Previous Page
To Previous Page IconTo Previous Page
Loading...
5. TÄGLICHER GEBRAUCH
WARNUNG!
Siehe Kapitel
Sicherheitshinweise.
5.1 Einfrieren frischer
Lebensmittel
Der Gefrierraum eignet sich zum Einfrieren
von frischen Lebensmitteln und zum
längerfristigen Lagern von bereits
gefrorenen und tiefgefrorenen
Lebensmitteln.
Für das Einfrieren frischer Lebensmittel ist
eine Änderung der mittleren Einstellung
nicht erforderlich.
Möchten Sie den Gefriervorgang
beschleunigen, drehen Sie den
Temperaturregler auf eine höhere
Einstellung, um die maximal mögliche
Kühlung zu erreichen.
ACHTUNG!
Unter diesen Umständen
kann die Temperatur im
Kühlschrank unter 0 °C fallen.
Ist dies der Fall, drehen Sie
den Temperaturregler auf
eine wärmere Einstellung.
5.2 Lagerung gefrorener
Lebensmittel
Lassen Sie das Gerät vor der ersten
Inbetriebnahme oder nach einer Zeit, in
der das Gerät nicht benutzt wurde,
mindestens 2 Stunden lang mit höherer
Einstellung laufen, bevor Sie Lebensmittel
in das Gefrierfach legen.
Kam es zum Beispiel durch
einen Stromausfall, der länger
dauerte als der in der Tabelle
mit den technischen Daten
angegebene Wert (siehe
"Lagerzeit bei Störung") zu
einem ungewollten Abtauen,
dann müssen die aufgetauten
Lebensmittel sehr rasch
verbraucht oder sofort
gekocht und nach dem
Abkühlen erneut eingefroren
werden.
5.3 Abtauen
Tiefgefrorene oder gefrorene Lebensmittel
können vor der Verwendung je nach der
zur Verfügung stehenden Zeit im
Kühlschrank oder bei Raumtemperatur
aufgetaut werden.
Kleinere Gefriergutteile können sogar
direkt aus dem Gefriergerät entnommen
und anschließend sofort gekocht werden.
In diesem Fall dauert der Garvorgang
allerdings etwas länger.
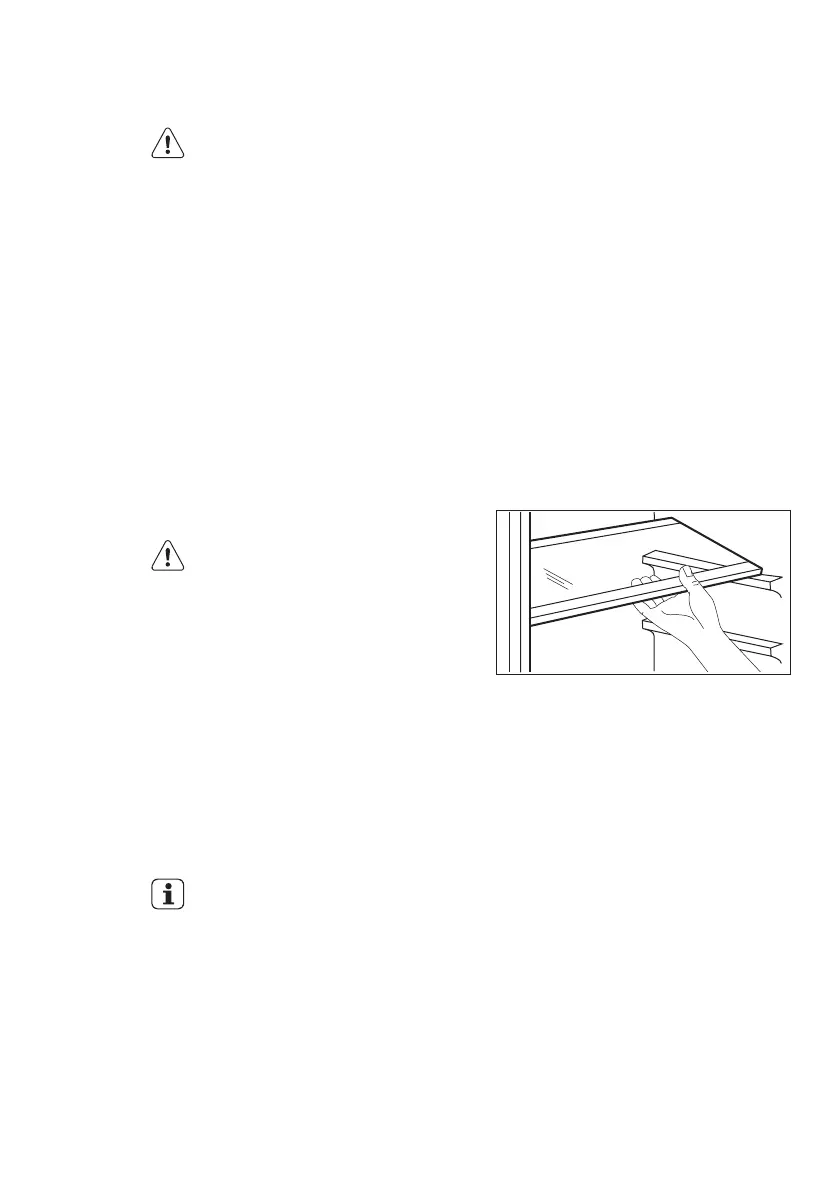
5.4 Verstellbare Ablagen
Die Wände des Kühlschranks sind mit
einer Reihe von Führungsschienen
ausgestattet, die verschiedene
Möglichkeiten für das Einsetzen der
Ablagen bieten.
5.5 Positionierung der
Türablagen
Die Türablagen können in verschiedener
Höhe positioniert werden; damit
ermöglichen sie das Lagern verschieden
großer Lebensmittelpackungen.
1. Ziehen Sie die Ablage langsam in
Pfeilrichtung, bis sie sich löst.
2. Setzen Sie die Ablage in der
gewünschten Höhe wieder ein.
www.electrolux.com46

Related product manuals