EasyManua.ls Logo

Electrolux EMS47320L - Product Description; Beam-on-Floor Indicator

Electrolux EMS47320L
28 pages
Print Icon
To Next Page IconTo Next Page
To Next Page IconTo Next Page
To Previous Page IconTo Previous Page
To Previous Page IconTo Previous Page
Loading...
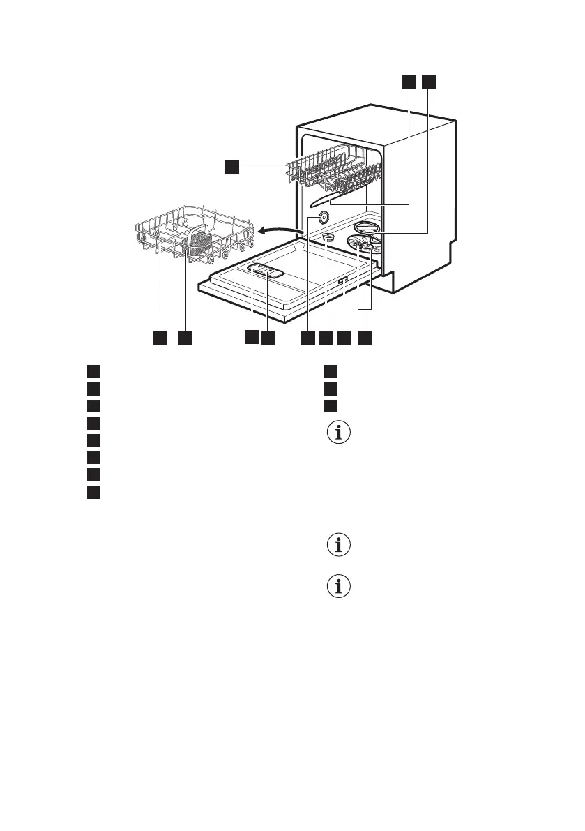
3. PRODUCT DESCRIPTION
4
3
7
9
8
10
56
11
1
2
1
Upper spray arm
2
Lower spray arm
3
Filters
4
Rating plate
5
Salt container
6
Air vent
7
Rinse aid dispenser
8
Detergent dispenser
9
Cutlery basket
10
Lower basket
11
Upper basket
The graphic is a general
overview. For more details,
refer to other chapters or
documents provided with the
appliance.
3.1 Beam-on-Floor
Beam-on-Floor is a light displayed on the
floor below the appliance door.
When the programme starts, a red
light comes on and stays on for the
duration of the programme.
When the programme is completed, a
green light comes on.
When the appliance has a
malfunction, the red light flashes.
Beam-on-Floor is off when
the appliance is deactivated.
When AirDry is activated
during the drying phase, the
projection on the floor may
not be completely visible. To
see if the cycle is finished,
check the control panel.
www.electrolux.com6

Related product manuals