EasyManua.ls Logo

Electrolux EN3854POX - Page 38

Electrolux EN3854POX
56 pages
Print Icon
To Next Page IconTo Next Page
To Next Page IconTo Next Page
To Previous Page IconTo Previous Page
To Previous Page IconTo Previous Page
Loading...
Klimaklasse übereinstimmt, die auf dem
Typenschild des Geräts angegeben ist:
Klima‐
klasse
Umgebungstemperatur
SN +10 °C bis +32 °C
N +16 °C bis +32 °C
ST +16 °C bis +38 °C
T +16 °C bis +43 °C
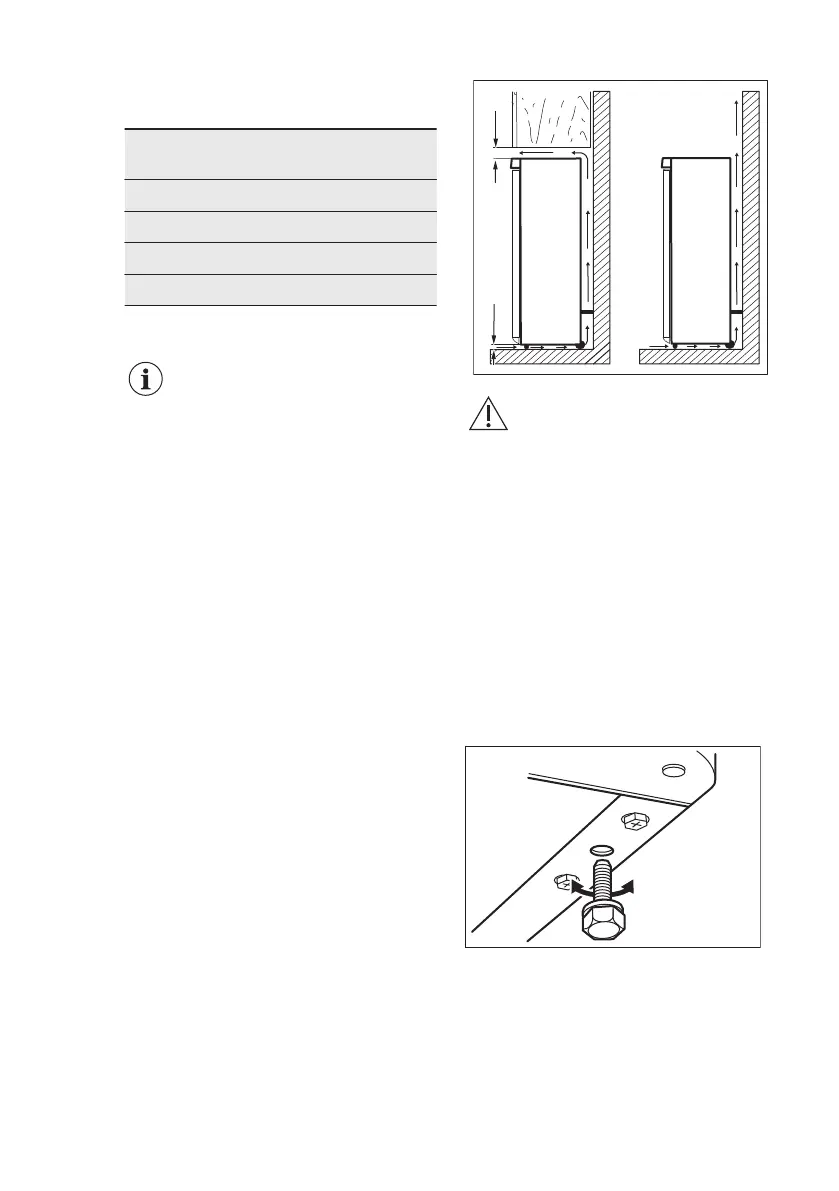
7.2 Standort
Es muss möglich sein, das
Gerät vom Netz zu trennen.
Daher muss der Stecker
nach der Installation
zugänglich bleiben.
Das Gerät sollte in ausreichendem
Abstand von Wärmequellen wie
Heizungen, Boilern, direkter
Sonneneinstrahlung usw. aufgestellt
werden. Vergewissern Sie sich, dass Luft
an der Rückseite des Gehäuses frei
zirkulieren kann. Um einen
einwandfreien Betrieb sicherzustellen,
sollte der Abstand zwischen der
Oberseite des Gehäuses und dem
Hängeschrank mindestens 100 mm
betragen, wenn das Gerät unter einem
Hängeschrank aufgestellt wird.
Allerdings sollte die Aufstellung des
Geräts unter einem Hängeschrank nach
Möglichkeit vermieden werden. Das
Gerät muss mithilfe eines Fußes oder
mehrerer verstellbarer Füße am Sockel
des Gehäuses ausgerichtet werden.
A
B
100 mm
min
20 mm
VORSICHT!
Um einen einwandfreien
Betrieb bei
Umgebungstemperaturen
über 38 °C zu gewährleisten,
muss zwischen den
Geräteseiten und den
angrenzenden
Küchenmöbeln ein Abstand
von 30 mm eingehalten
werden.
7.3 Ausrichten
Bei der Aufstellung des Geräts ist dieses
waagerecht auszurichten. Dies lässt sich
mit zwei Schraubfüßen am vorderen
Sockel des Gerätes erreichen.
7.4 Elektrischer Anschluss
Kontrollieren Sie vor der ersten
Benutzung des Geräts, ob die
Netzspannung und -frequenz Ihres
Hausanschlusses mit den auf dem
Typenschild angegebenen
Anschlusswerten übereinstimmen.
www.electrolux.com38

Related product manuals