EasyManua.ls Logo

Electrolux EOD 983X - The Top Oven; Uses of the Top Oven; Selecting the Top Oven; Things to Note

Electrolux EOD 983X
36 pages
Print Icon
To Next Page IconTo Next Page
To Next Page IconTo Next Page
To Previous Page IconTo Previous Page
To Previous Page IconTo Previous Page
Loading...
USES OF THE TOP OVEN
The top oven is the smaller of the two ovens. It is
heated by elements in the top and bottom of the
oven. It is designed for cooking smaller quantities of
food. It gives especially good results if used to cook
fruit cakes, sweet and savoury flans or quiche.
l
Ensure the grill control is in the off, (0) position.
l
Turn the top oven temperature control to the
required setting.
THINGS TO NOTE
1. The top oven indicator neon will glow until the
oven has reached the desired temperature and
then go out. It will turn ON and OFF periodically
during cooking showing that the temperature is
being maintained.
2. The cooling fan for the controls may operate,
after a period of time.
3. Dishes, tins or trays should not be placed
directly on the oven base as it becomes very
hot and damage will occur.
The top oven is also ideal for use as a warming
compartment to warm dishes and keep food hot.
Use a temperature setting of 90° - 100°C on the top
oven temperature control.
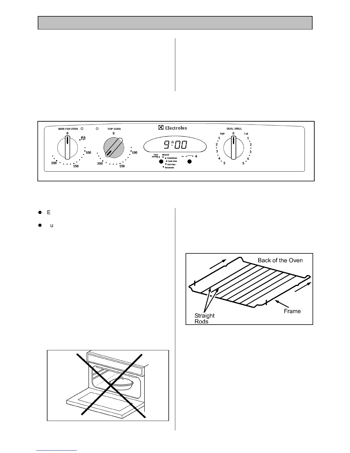
TO FIT THE TOP OVEN SHELF
The cranked shelf should be fitted with the straight
rods uppermost on the frame and the forms towards
the back of the oven. If not fitted correctly the anti-tilt
and safety stop mechanism will be affected.
SELECTING THE TOP OVEN
THE TOP OVEN
19

Table of Contents

Related product manuals