EasyManua.ls Logo

Electrolux ERN1301FOW - Installation

Electrolux ERN1301FOW
16 pages
Print Icon
To Next Page IconTo Next Page
To Next Page IconTo Next Page
To Previous Page IconTo Previous Page
To Previous Page IconTo Previous Page
Loading...
8. INSTALLATION
WARNING!
Read the "Safety Information"
carefully for your safety and cor-
rect operation of the appliance
before installing the appliance.
8.1 Positioning
This appliance should be installed in a dry,
well ventilated indoor where the ambient
temperature corresponds to the climate
class indicated on the rating plate of the
appliance:
Cli-
mate
class
Ambient temperature
SN +10°C to + 32°C
N +16°C to + 32°C
ST +16°C to + 38°C
T +16°C to + 43°C
Some functional problems might occur for
some types of models when operating
outside of that range. The correct opera-
tion can only be guaranteed within the
specified temperature range. If you have
any doubts regarding where to install the
appliance, please turn to the vendor, to
our customer service or to the nearest
Service Centre
8.2 Electrical Connection
CAUTION!
Any electrical work required to in-
stall this appliance should be car-
ried out by a qualified electrician
or competent person.
WARNING!
This appliance must be earthed.
The manufacturer declines any lia-
bility should these safety meas-
ures not be observed.
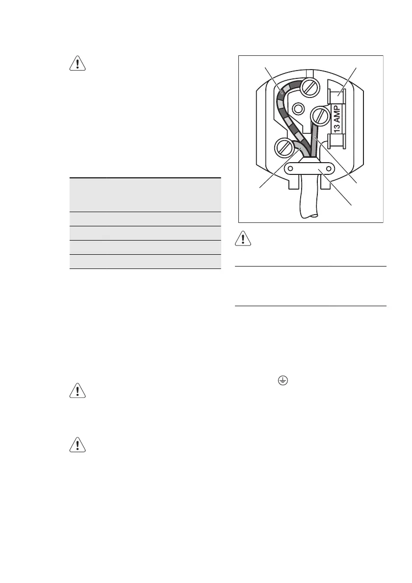
AB
C
D
E
The wires in the mains lead are
coloured in accordance with the
following code:
A Green and Yellow: Earth
CBrown: Live
EBlue: Neutral
As the colours of the wires in the mains
lead of this appliance may not correspond
with the coloured markings identifying the
terminals in your plug, proceed as follows:
1.
Connect the wire coloured green and
yellow to the terminal marked either
with the letter “E“ or by the earth
symbol
or coloured green and yel-
low.
2.
Connect the wire coloured blue to the
terminal either marked with the letter
“N“ or coloured black.
3.
Connect the wire coloured brown to
the terminal either marked with the
“L“ or coloured red.
4.
Check that no cut, or stray strands of
wire is present and the cord clamp D
is secure over the outer sheath.
5.
Make sure the electricity supply volt-
age is the same as that indicated on
the appliance rating plate.
6.
Switch on the appliance.
The appliance is supplied with a 13 amp
plug fitted B. In the event of having to
change the fuse in the plug supplied, a 13
12
www.electrolux.com

Related product manuals