EasyManua.ls Logo

Electrolux ERN29600 - Installation; Positioning; Electrical Connection

Electrolux ERN29600
24 pages
Print Icon
To Next Page IconTo Next Page
To Next Page IconTo Next Page
To Previous Page IconTo Previous Page
To Previous Page IconTo Previous Page
Loading...
7. INSTALLATION
WARNING!
Read the "Safety Information"
carefully for your safety and cor-
rect operation of the appliance
before installing the appliance.
7.1 Positioning
Install this appliance at a location where
the ambient temperature corresponds to
the climate class indicated on the rating
plate of the appliance:
Cli-
mate
class
Ambient temperature
SN +10°C to + 32°C
N +16°C to + 32°C
ST +16°C to + 38°C
T +16°C to + 43°C
7.2 Electrical Connection
CAUTION!
Any electrical work required to in-
stall this appliance should be car-
ried out by a qualified electrician
or competent person.
WARNING!
This appliance must be earthed.
The manufacturer declines any lia-
bility should these safety meas-
ures not be observed.
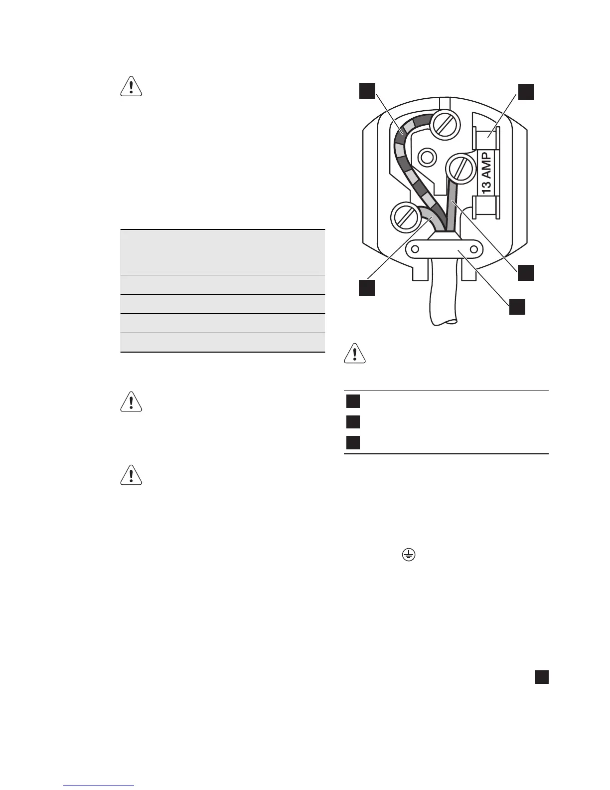
1
2
3
4
5
The wires in the mains lead are
coloured in accordance with the
following code:
1
Green and Yellow: Earth
3
Brown: Live
5
Blue: Neutral
As the colours of the wires in the mains
lead of this appliance may not correspond
with the coloured markings identifying the
terminals in your plug, proceed as follows:
1.
Connect the wire coloured green and
yellow to the terminal marked either
with the letter “E“ or by the earth
symbol
or coloured green and yel-
low.
2.
Connect the wire coloured blue to the
terminal either marked with the letter
“N“ or coloured black.
3.
Connect the wire coloured brown to
the terminal either marked with the
“L“ or coloured red.
4.
Check that no cut, or stray strands of
wire is present and the cord clamp
4
is secure over the outer sheath.
5.
Make sure the electricity supply volt-
age is the same as that indicated on
the appliance rating plate.
6.
Switch on the appliance.
ENGLISH 13

Related product manuals